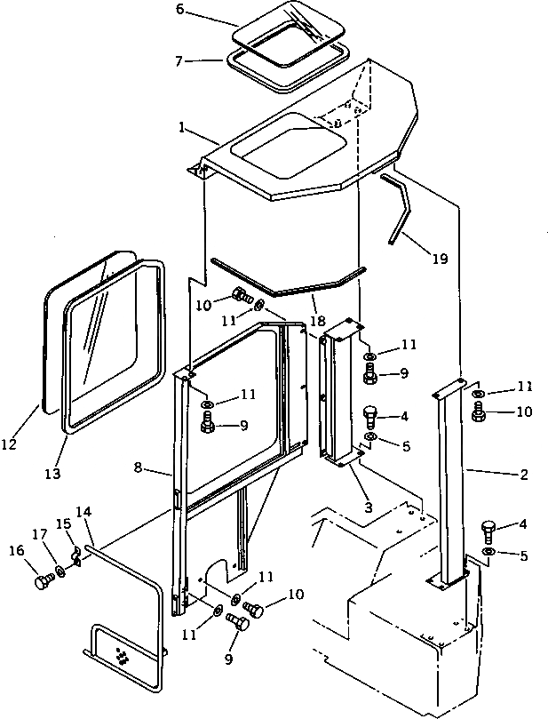
Запчасти Komatsu PC12UU-1 НАВЕС ЧАСТИ КОРПУСА

Схема запчастей Komatsu PC12UU-1 - НАВЕС ЧАСТИ КОРПУСА
FIT
1:1
100%

Артикул

Название

Примечание

Количество

1

20C-54-15215

ROOF

|1

20C-54-15210

ROOF

2

20C-54-15115

POLE,L.H.

|2

20C-54-15110

POLE,L.H.

3

20C-54-15125

POLE,R.H.

|3

20C-54-15120

POLE,R.H.

4

01010-51230

BOLT

5

01643-31232

WASHER

6

20C-54-15250

PLATE

7

20C-54-15240

STRIP,WEATHER

8

20C-54-15315

PLATE

|8

20C-54-15310

PLATE

9

01010-51025

BOLT

10

01010-51020

BOLT

11

01643-31032

WASHER

12

20C-54-15320

PLATE

13

20C-54-15330

STRIP,WEATHER

14

20C-54-15410

STAY

15

07282-12288

CLAMP

16

01010-51020

BOLT

17

01643-31032

WASHER

18

20C-54-15230

SEAL

19

20C-54-15220

SEAL

Выбрано товаров: 23