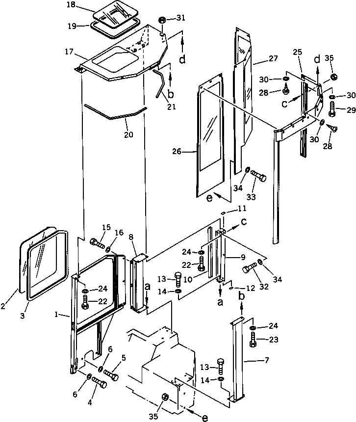
Запчасти Komatsu PC12UU-1 КАБИНА (/) (ПРАВ. ОКНА¤ КРЫША И КАМЕРАS) ЧАСТИ КОРПУСА

Схема запчастей Komatsu PC12UU-1 - КАБИНА (/) (ПРАВ. ОКНА¤ КРЫША И КАМЕРАS) ЧАСТИ КОРПУСА
FIT
1:1
100%

Артикул

Название

Примечание

Количество

1

20C-54-15310

PLATE

2

20C-54-15320

PLATE

3

20C-54-15330

STRIP,WEATHER

4

01010-51025

BOLT

5

01010-51020

BOLT

6

01643-31032

WASHER

7

20C-54-15110

POLE,L.H.

8

20C-54-15120

POLE,R.H.

9

20C-54-16165

PLATE

|9

20C-54-16160

PLATE

10

20C-54-16650

TRIM

11

20C-54-16620

SEAT

12

20C-54-16630

SEAT

13

01010-51230

BOLT

14

01643-31232

WASHER

15

01010-51020

BOLT

16

01643-31032

WASHER

17

20C-54-15210

ROOF

18

20C-54-15250

PLATE

19

20C-54-15240

STRIP,WEATHER

20

20C-54-15230

SEAL

21

20C-54-15220

SEAL

22

01010-51025

BOLT

23

01010-51020

BOLT

24

01643-31032

WASHER

|25

20C-54-16200

CAMBERS ASS'Y

25

20C-54-16210

CAMBERS

26

20C-54-16220

CAMBERS,DOOR

27

20C-54-16230

CAMBERS,WINDOW

28

01370-00614

SCREW

29

01010-50620

BOLT

30

01643-30623

WASHER

31

01580-10605

NUT

32

01010-50616

BOLT

33

01010-50620

BOLT

34

01643-30623

WASHER

35

01580-10605

NUT

Выбрано товаров: 37