Запчасти Komatsu PC12UU-1 СТРЕЛА OFFSET ЦИЛИНДР РАБОЧЕЕ ОБОРУДОВАНИЕ

Схема запчастей Komatsu PC12UU-1 - СТРЕЛА OFFSET ЦИЛИНДР РАБОЧЕЕ ОБОРУДОВАНИЕ
FIT
1:1
100%

Артикул

Название

Примечание

Количество

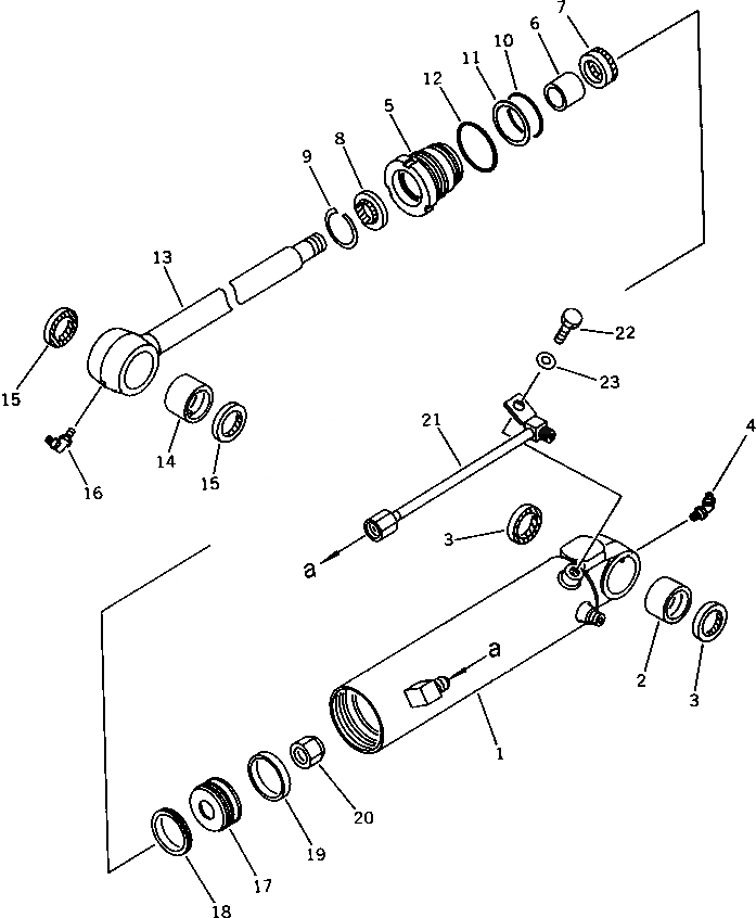
G-1

20C-63-X2040

CYLINDER GROUP

|1

20C-63-02040

CYLINDER ASS'Y

1

20C-63-86140

CYLINDER

2

07144-10304

BUSHING

3

07145-00035

SEAL,DUST

4

07020-00900

FITTING,GREASE

5

707-29-70820

HEAD,CYLINDER

6

07177-03525

BUSHING

7

707-51-35210

PACKING,ROD

8

175-63-75190

SEAL,DUST

9

07179-12047

RING,SNAP

10

07000-12065

O-RING

11

07146-02066

RING,BACK-UP

12

07000-02070

O-RING

13

20C-63-86120

ROD,PISTON

14

07144-10304

BUSHING

15

07145-00035

SEAL

16

07020-00900

FITTING,GREASE

17

707-36-70930

PISTON

18

07161-10070

RING,PISTON

19

07156-00710

RING,WEAR

20

07165-12426

NUT

21

20C-63-86170

TUBE

22

01010-31020

BOLT

23

01643-31032

WASHER

Выбрано товаров: 25