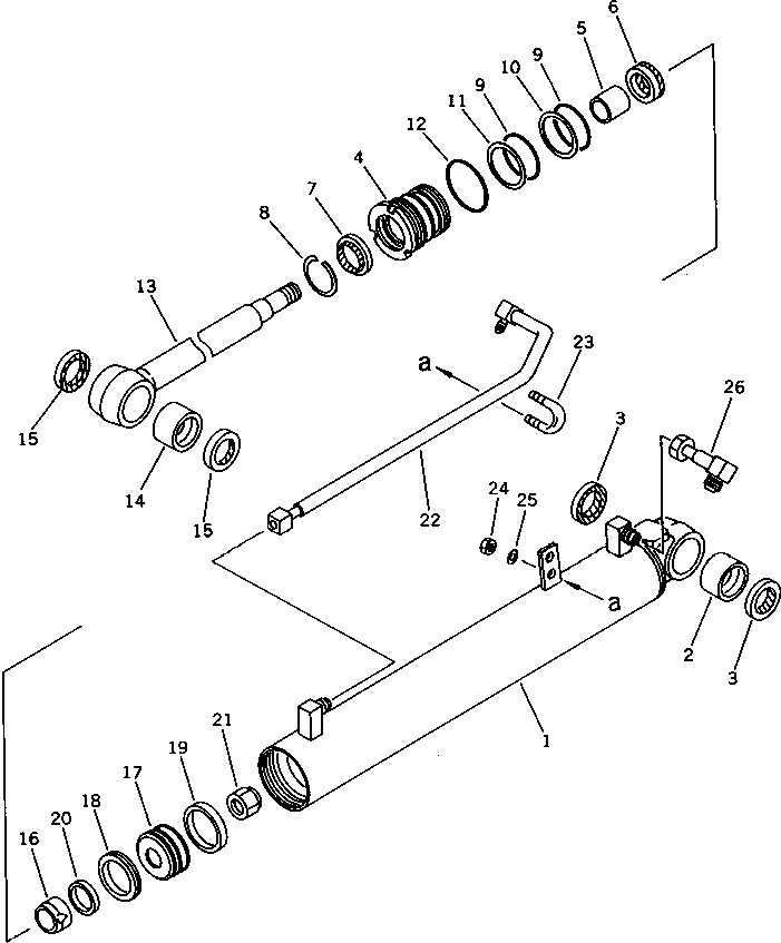
Запчасти Komatsu PC12UU-1 ЦИЛИНДР РУКОЯТИ РАБОЧЕЕ ОБОРУДОВАНИЕ

Схема запчастей Komatsu PC12UU-1 - ЦИЛИНДР РУКОЯТИ РАБОЧЕЕ ОБОРУДОВАНИЕ
FIT
1:1
100%

Артикул

Название

Примечание

Количество

G-1

20C-63-X2020

CYLINDER GROUP

|1

20C-63-02020

CYLINDER ASS'Y

1

20C-63-66140

CYLINDER

2

07143-10304

BUSHING

3

07145-00035

SEAL,DUST

4

707-29-70140

HEAD,CYLINDER

5

07177-04025

BUSHING

6

707-51-40210

PACKING,ROD

7

198-63-75190

SEAL,DUST

8

07179-12052

RING,SNAP

9

07000-12065

O-RING

10

707-35-52700

RING,BACK-UP

11

07001-02065

RING,BACK-UP

12

07000-02070

O-RING

13

20C-63-66120

ROD,PISTON

14

07143-10304

BUSHING

15

07145-00035

SEAL

16

707-71-50460

PLUNGER

17

707-36-70940

PISTON

18

07161-10070

RING,PISTON

19

07156-00710

RING,WEAR

20

707-40-70570

RETAINER

21

07165-12729

NUT

22

20C-63-66170

TUBE

23

07283-21529

CLIP,SEAT

24

01598-00809

NUT

25

01643-30823

WASHER

26

20C-63-66180

TUBE

Выбрано товаров: 28