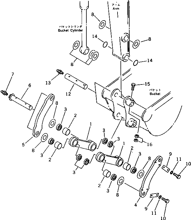
Запчасти Komatsu PC12UU-1 СОЕДИНЕНИЕ КОВША РАБОЧЕЕ ОБОРУДОВАНИЕ

Схема запчастей Komatsu PC12UU-1 - СОЕДИНЕНИЕ КОВША РАБОЧЕЕ ОБОРУДОВАНИЕ
FIT
1:1
100%

Артикул

Название

Примечание

Количество

|1

20N-70-41400

LINK ASS'Y

1

LINK

2

07143-10303

BUSHING

3

07145-00030

SEAL

4

20C-70-11780

LINK,L.H.

5

20C-70-11790

LINK,R.H.

6

20N-70-31140

PIN

7

07020-00000

FITTING,GREASE

8

20N-70-11280

SPACER¤ 1.0MM

9

04082-00110

LOCK

10

01010-51020

BOLT

11

01643-31032

WASHER

12

20N-70-41730

PIN

13

07020-00000

FITTING,GREASE

14

20D-14-11530

O-RING

15

01010-51075

BOLT

16

01580-11008

NUT

Выбрано товаров: 17