Запчасти Komatsu PC12UU-1 ЦИЛИНДР КОВША РАБОЧЕЕ ОБОРУДОВАНИЕ

Схема запчастей Komatsu PC12UU-1 - ЦИЛИНДР КОВША РАБОЧЕЕ ОБОРУДОВАНИЕ
FIT
1:1
100%

Артикул

Название

Примечание

Количество

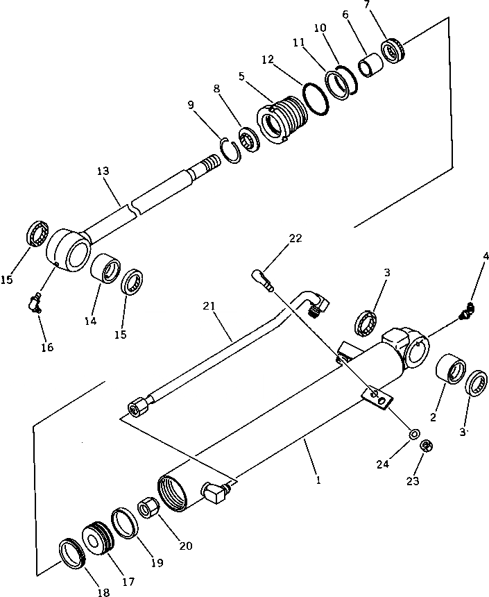
G-1

20C-63-X2030

CYLINDER GROUP

|1

20C-63-02030

CYLINDER ASS'Y

1

20C-63-76140

CYLINDER

2

07144-10303

BUSHING

3

07145-00030

SEAL,DUST

4

07020-00900

FITTING,GREASE

5

707-29-60760

HEAD,CYLINDER

6

07177-03525

BUSHING

7

707-51-35210

PACKING,ROD

8

175-63-75190

SEAL,DUST

9

07179-12047

RING,SNAP

10

07000-12055

O-RING

11

07146-02056

RING,BACK-UP

12

07000-02060

O-RING

13

20C-63-76120

ROD,PISTON

14

07144-10303

BUSHING

15

07145-00030

SEAL

16

07020-00900

FITTING,GREASE

17

707-36-60110

PISTON

18

07161-10060

RING,PISTON

19

707-39-60190

RING,WAER

20

07165-12426

NUT

21

20C-63-79170

TUBE

22

07283-21529

CLIP,SEAT

23

01598-00809

NUT

24

01643-30823

WASHER

Выбрано товаров: 26