Запчасти Komatsu PC12UU-2 OFFSET ЦИЛИНДР (ВНУТР. ЧАСТИ) ОСНОВН. КОМПОНЕНТЫ И РЕМКОМПЛЕКТЫ

Схема запчастей Komatsu PC12UU-2 - OFFSET ЦИЛИНДР (ВНУТР. ЧАСТИ) ОСНОВН. КОМПОНЕНТЫ И РЕМКОМПЛЕКТЫ
FIT
1:1
100%

Артикул

Название

Примечание

Количество

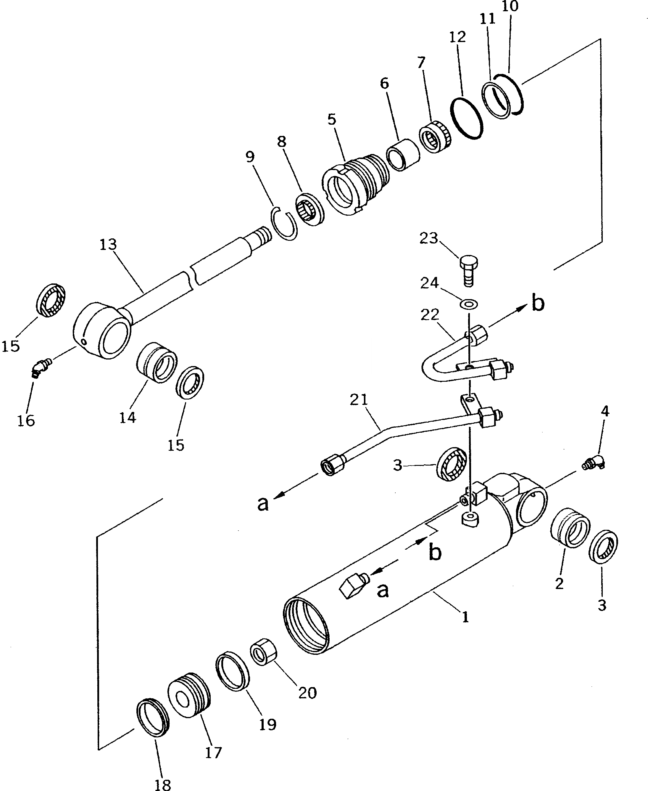
G-1

20C-63-X2141

CYLINDER GROUP,OFFSET

|1

20C-63-02141

CYLINDER ASS'Y

1

20C-63-86241

CYLINDER

2

07144-10304

BUSHING

3

07145-00035

SEAL,DUST (KIT)

4

07020-00675

FITTING,GREASE

5

707-29-70820

HEAD,CYLINDER

6

07177-03525

BUSHING

7

707-51-35210

PACKING,ROD (KIT)

8

175-63-75190

SEAL,DUST (KIT)

9

07179-12047

RING,SNAP

10

07000-12065

O-RING (KIT)

11

07146-02066

RING,BACK-UP (KIT)

12

07000-02070

O-RING (KIT)

13

20C-63-86220

ROD,PISTON

14

07144-10304

BUSHING

15

07145-00035

SEAL,DUST (KIT)

16

07020-00675

FITTING,GREASE

17

707-36-70160

PISTON

18

707-44-70180

RING,PISTON (KIT)

19

07156-00710

RING,WEAR (KIT)

20

01580-02419

NUT

21

20C-63-86270

TUBE

22

20C-63-86280

TUBE

23

01010-51020

BOLT

24

01643-31032

WASHER

Выбрано товаров: 26