Качественные детали и логистика
Оригинальные и аналоговые запчасти с доставкой по России, Казахстану и Беларуси
©2022 PartSell ООО "Система" ИНН 2463123282 ОГРН 1212400004838
Центральный офис: г. Красноярск, Академика Киренского, д.87, пом.4
Телефон: 8 (800) 777-65-74 Email: zakaz@partsell.ru
P.P.C. ЛИНИЯ (/) (ДЛЯ СИСТЕМА СПЕЦ-Я.)
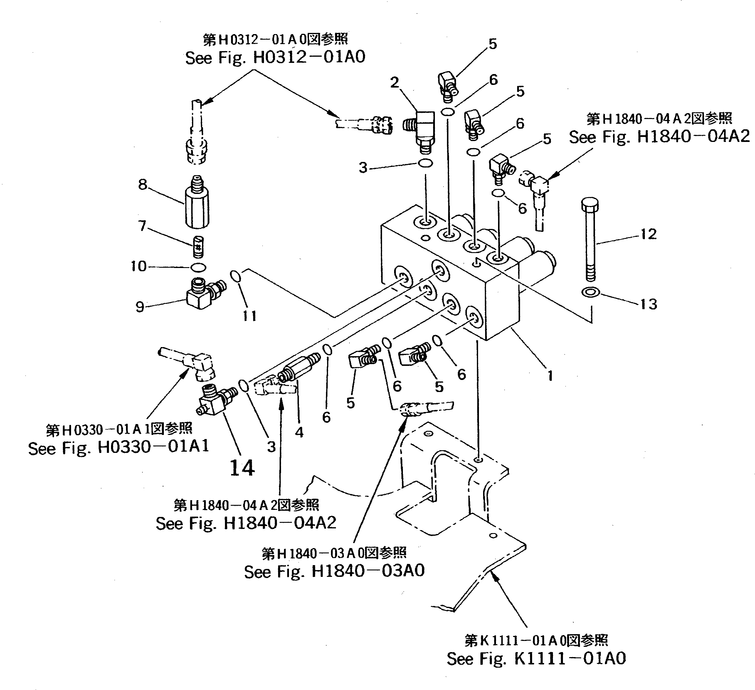
№
Артикул
Название
Примечание
Количество
1
21U-60-22200
VALVE ASS'Y,(SEE FIG.Y1681-01A0)
2
20D-62-12180
ELBOW
3
07002-11423
O-RING
4
21A-62-12350
NIPPLE
5
21U-62-24110
6
7
20T-62-71910
STRAINER
8
20T-62-71930
UNION
9
20C-62-24130
10
07002-01823
11
12
01011-51000
BOLT
13
01643-31032
WASHER
14
20C-62-24610
TEE
Выбрано товаров: 0