Запчасти Komatsu PC12UU-2 P.P.C. ЛИНИЯ (СОЛЕНОИДНЫЙ КЛАПАН) (ДЛЯ СИСТЕМА СПЕЦ-Я.) ГИДРАВЛИКА

Схема запчастей Komatsu PC12UU-2 - P.P.C. ЛИНИЯ (СОЛЕНОИДНЫЙ КЛАПАН) (ДЛЯ СИСТЕМА СПЕЦ-Я.) ГИДРАВЛИКА
FIT
1:1
100%

Артикул

Название

Примечание

Количество

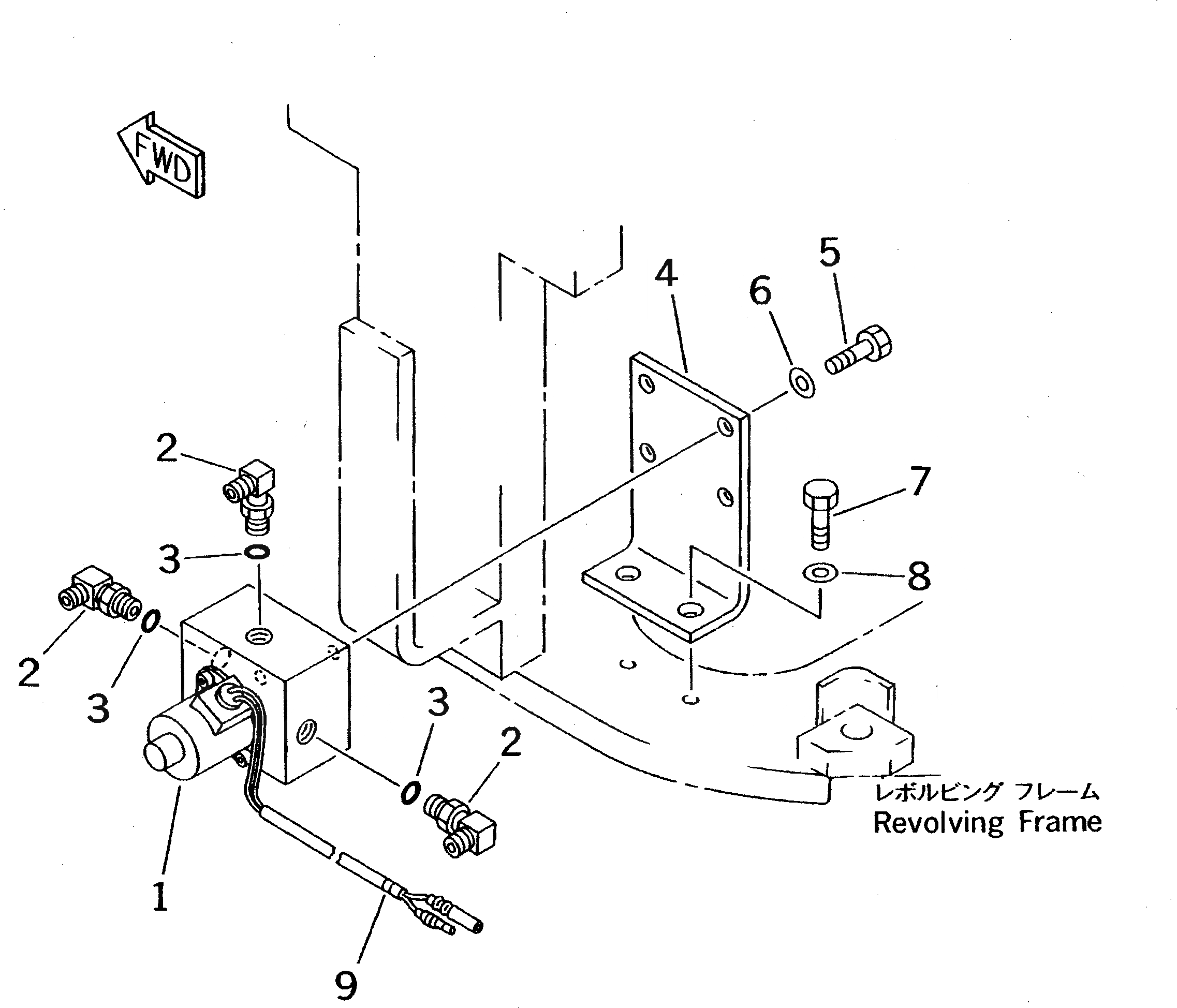
1

21U-60-22400

VALVE ASS'Y

2

21U-62-24110

ELBOW

3

07002-11423

O-RING

4

21U-62-24631

BRACKET

5

01010-50820

BOLT

6

01643-30823

WASHER

7

01010-51025

BOLT

8

01643-31032

WASHER

9

203-62-57950

MARK¤ 5

Выбрано товаров: 9