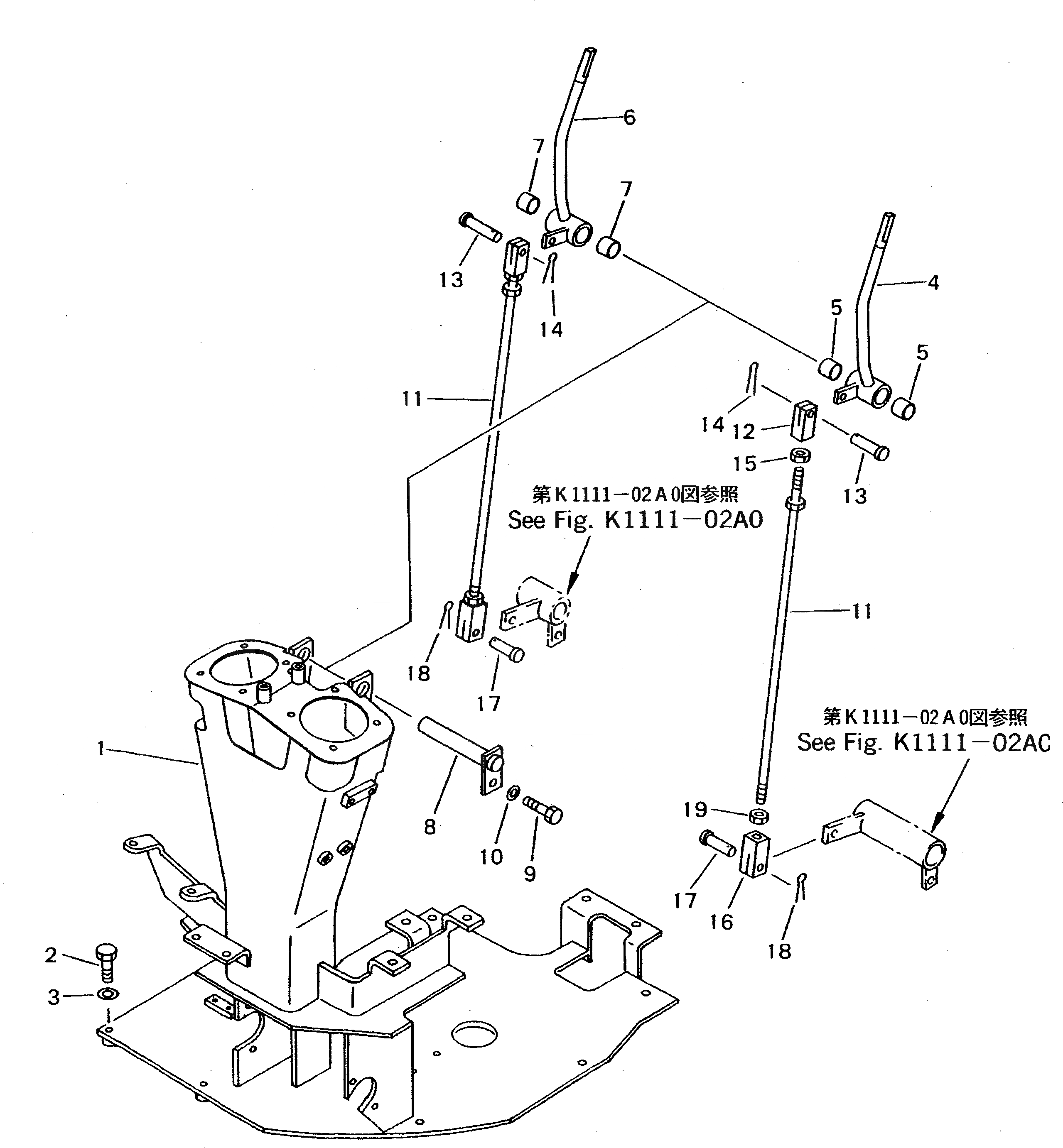
Запчасти Komatsu PC12UU-2 ОСНОВН. УПРАВЛ-Е (ХОД) (/) КАБИНА ОПЕРАТОРА И СИСТЕМА УПРАВЛЕНИЯ

Схема запчастей Komatsu PC12UU-2 - ОСНОВН. УПРАВЛ-Е (ХОД) (/) КАБИНА ОПЕРАТОРА И СИСТЕМА УПРАВЛЕНИЯ
FIT
1:1
100%

Артикул

Название

Примечание

Количество

1

20C-43-21111

BRACKET

2

01010-51040

BOLT

3

01643-31032

WASHER

4

21X-43-23210

LEVER,L.H.

5

09350-02020

BUSHING

6

21X-43-23220

LEVER,R.H.

7

09350-02020

BUSHING

8

21U-43-21230

SHAFT

9

01010-50816

BOLT

10

01643-30823

WASHER

11

04248-31053

ROD

12

20T-43-22210

YOKE

13

04205-10822

PIN

14

04050-12015

PIN,COTTER

15

01582-11008

NUT

16

04220-21040

YOKE

17

04205-11028

PIN

18

04050-13020

PIN,COTTER

19

01508-41006

NUT

Выбрано товаров: 19