Запчасти Komatsu PC12UU-2 КАПОТ (/) ЧАСТИ КОРПУСА

Схема запчастей Komatsu PC12UU-2 - КАПОТ (/) ЧАСТИ КОРПУСА
FIT
1:1
100%

Артикул

Название

Примечание

Количество

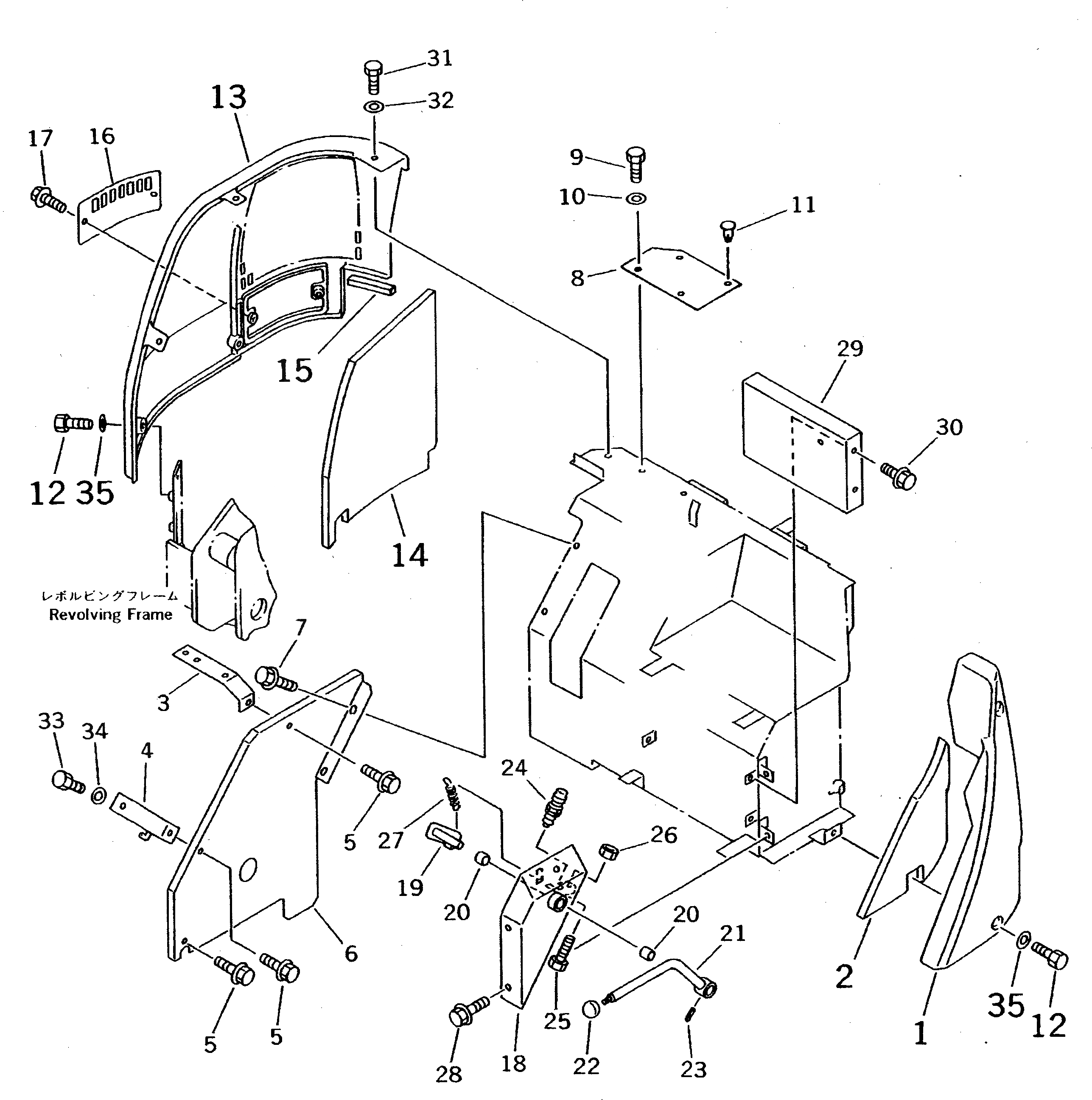
|1

20C-54-21800

COVER ASS'Y

1

COVER

2

20C-54-21880

SHEET

3

20C-54-21330

BRACKET

4

20C-54-21340

BRACKET

5

01435-01016

BOLT

6

20C-54-21350

COVER

7

01435-01025

BOLT

8

20C-54-21380

SHEET

9

01010-50616

BOLT

10

419-43-17760

WASHER

11

21U-54-21270

CAP

12

01010-51020

BOLT

|13

20C-54-21300

COVER ASS'Y

13

COVER

14

20C-54-21860

SHEET

15

20C-54-21260

SEAL

16

20C-54-21270

COVER

17

01435-00816

BOLT

18

20C-54-21910

COVER

19

21U-54-21921

LEVER

20

09350-02015

BUSHING

21

21U-54-21930

LEVER

22

09304-10835

KNOB

23

04025-00640

PIN,SPRING

24

21U-54-21940

SWITCH,P.P.C. LOCK

25

01016-50840

BOLT

26

01580-10806

NUT

27

203-43-21370

SPRING

28

01435-00816

BOLT

29

20C-54-21960

COVER

30

01435-00816

BOLT

31

01010-51020

BOLT

32

01643-31032

WASHER

33

01010-51020

BOLT

34

01643-31032

WASHER

35

21U-54-21760

WASHER

Выбрано товаров: 37