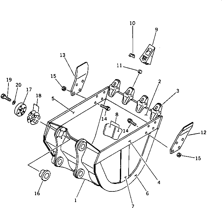
Запчасти Komatsu PC130-5 УСИЛЕНН. КОВШ¤ .M ШИР. 8MM (ВЕРТИКАЛЬН. ПАЛЕЦ) РАБОЧЕЕ ОБОРУДОВАНИЕ

Схема запчастей Komatsu PC130-5 - УСИЛЕНН. КОВШ¤ .M ШИР. 8MM (ВЕРТИКАЛЬН. ПАЛЕЦ) РАБОЧЕЕ ОБОРУДОВАНИЕ
FIT
1:1
100%

Артикул

Название

Примечание

Количество

|$0

203-70-00200

BUCKET ASS'Y

1

203-70-53180

BUCKET

2

203-70-53121

PLATE (WELDED)

3

202-70-63190

ADAPTER (WELDED)

4

203-70-53132

PLATE,L.H. (WELDED)

5

203-70-53142

PLATE,R.H. (WELDED)

6

203-70-53250

PLATE (WELDED)

7

203-70-53260

PLATE (WELDED)

8

203-70-53190

PLATE (WELDED)

9

205-70-74272

TOOTH

10

205-70-74281

PIN

11

205-70-74291

LOCK

12

202-70-63161

CUTTER,L.H.

13

202-70-63171

CUTTER,R.H.

14

208-32-11231

BOLT

15

01803-02228

NUT

16

202-70-64250

SPACER

17

202-70-64240

PLATE

18

202-70-64210

SPACER, 0.5MM

18

202-70-64220

SPACER, 1.0MM

19

01010-51470

BOLT

20

01643-31445

WASHER

Выбрано товаров: 22