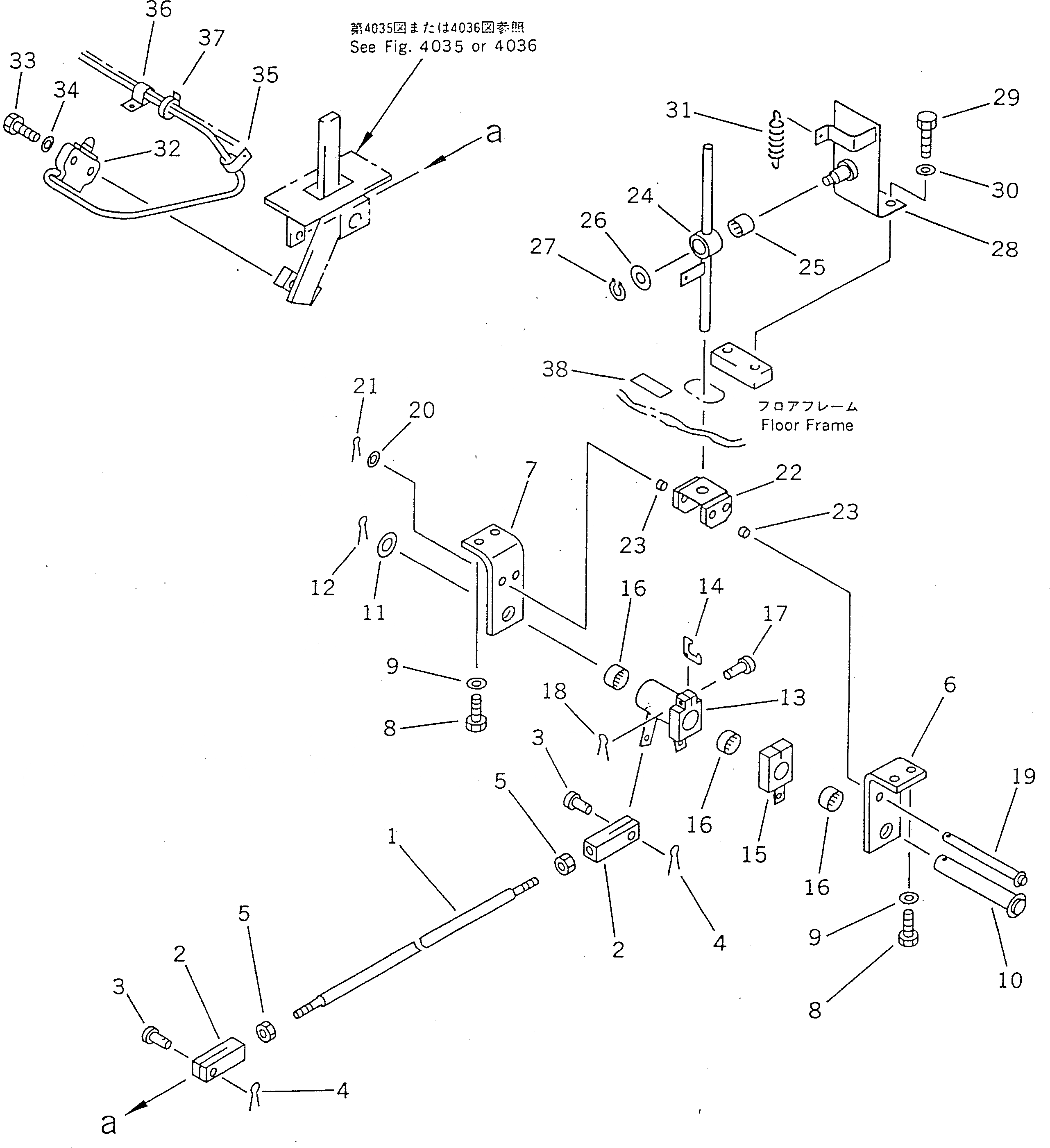
Запчасти Komatsu PC130-5 ПЕДАЛЬ УПРАВЛ-Я И МЕХАНИЗМ (/) (ИЗМЕЛЬЧИТЕЛЬ И ДРУГОЕ НАВЕСН. ОБОРУД) СИСТЕМА УПРАВЛЕНИЯ И ОСНОВНАЯ РАМА

Схема запчастей Komatsu PC130-5 - ПЕДАЛЬ УПРАВЛ-Я И МЕХАНИЗМ (/) (ИЗМЕЛЬЧИТЕЛЬ И ДРУГОЕ НАВЕСН. ОБОРУД) СИСТЕМА УПРАВЛЕНИЯ И ОСНОВНАЯ РАМА
FIT
1:1
100%

Артикул

Название

Примечание

Количество

1

202-973-6810

ROD

2

175-43-C1130

YOKE

3

04205-10822

PIN

4

04050-12015

PIN,COTTER

5

01582-11008

NUT

6

202-973-6750

BRACKET

7

202-973-6760

BRACKET

8

01010-51025

BOLT

9

01643-31032

WASHER

10

202-973-6730

SHAFT

11

01640-22032

WASHER

12

04050-13030

PIN,COTTER

13

202-973-6770

LEVER

14

20S-43-31541

PLATE

15

202-973-6780

LEVER

16

195-43-43190

BEARING

17

04205-10625

PIN

18

04050-11612

PIN,COTTER

19

202-973-6740

SHAFT

20

01641-21016

WASHER

21

04050-13020

PIN,COTTER

22

20S-43-31551

BRACKET

23

20S-43-31560

BUSHING

24

202-973-6880

LEVER

25

195-61-34120

BEARING

26

01643-31445

WASHER

27

04064-01410

RING,SNAP

28

202-973-6870

BRACKET

29

01010-51020

BOLT

30

01643-31032

WASHER

31

113-43-11280

SPRING

32

203-06-56210

SWITCH

33

01010-51030

BOLT

34

01643-31032

WASHER

35

08036-10810

CLIP

36

08036-01414

CLIP

37

08034-00414

BAND

38

20Y-970-2150

PLATE

Выбрано товаров: 38