Запчасти Komatsu PC130-5 ЛЕВ. COVER ЧАСТИ КОРПУСА

Схема запчастей Komatsu PC130-5 - ЛЕВ. COVER ЧАСТИ КОРПУСА
FIT
1:1
100%

Артикул

Название

Примечание

Количество

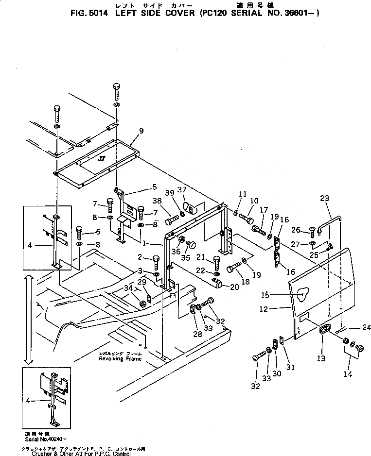
1

203-54-52346

BRACKET

2

01010-51030

BOLT

3

01643-31032

WASHER

4

203-54-52174

BRACKET

4

203-54-58530

BRACKET,(CRUSHER,OTHER ATT.FOR PPC CON

5

203-54-56761

BRACKET

6

01010-51025

BOLT

7

01010-51030

BOLT

8

01643-31032

WASHER

9

203-54-52372

COVER

10

01010-51025

BOLT

11

01643-31032

WASHER

12

203-54-52521

COVER ASS'Y

13

421-54-11372

LOCK ASS'Y (WELDED)

14

421-54-11381

LOCK

15

203-54-52492

SHEET

16

203-54-52412

HINGE

17

01010-51025

BOLT

18

01010-51030

BOLT

19

01643-31032

WASHER

20

203-54-52620

PLATE

21

01010-51025

BOLT

22

01643-31032

WASHER

23

203-54-52631

BAR

24

04050-13018

PIN,COTTER

25

20B-54-12210

SPRING

26

01220-40406

SCREW

27

01641-20405

WASHER

28

566-54-13410

STRIKER

29

203-54-56790

PLATE

30

566-54-14420

STOPPER

31

203-54-52610

PLATE

32

01225-40820

SCREW

33

566-54-13570

WASHER

34

01580-10806

NUT

35

203-54-56710

STOPPER

36

01580-01008

NUT

37

203-54-52730

HOLDER,(FOR GREASE PUMP)

38

01010-51020

BOLT,(FOR GREASE PUMP)

39

01643-31032

WASHER,(FOR GREASE PUMP)

Выбрано товаров: 40