Запчасти Komatsu PC130-5 ЗАДН. КРЫШКА ЧАСТИ КОРПУСА

Схема запчастей Komatsu PC130-5 - ЗАДН. КРЫШКА ЧАСТИ КОРПУСА
FIT
1:1
100%

Артикул

Название

Примечание

Количество

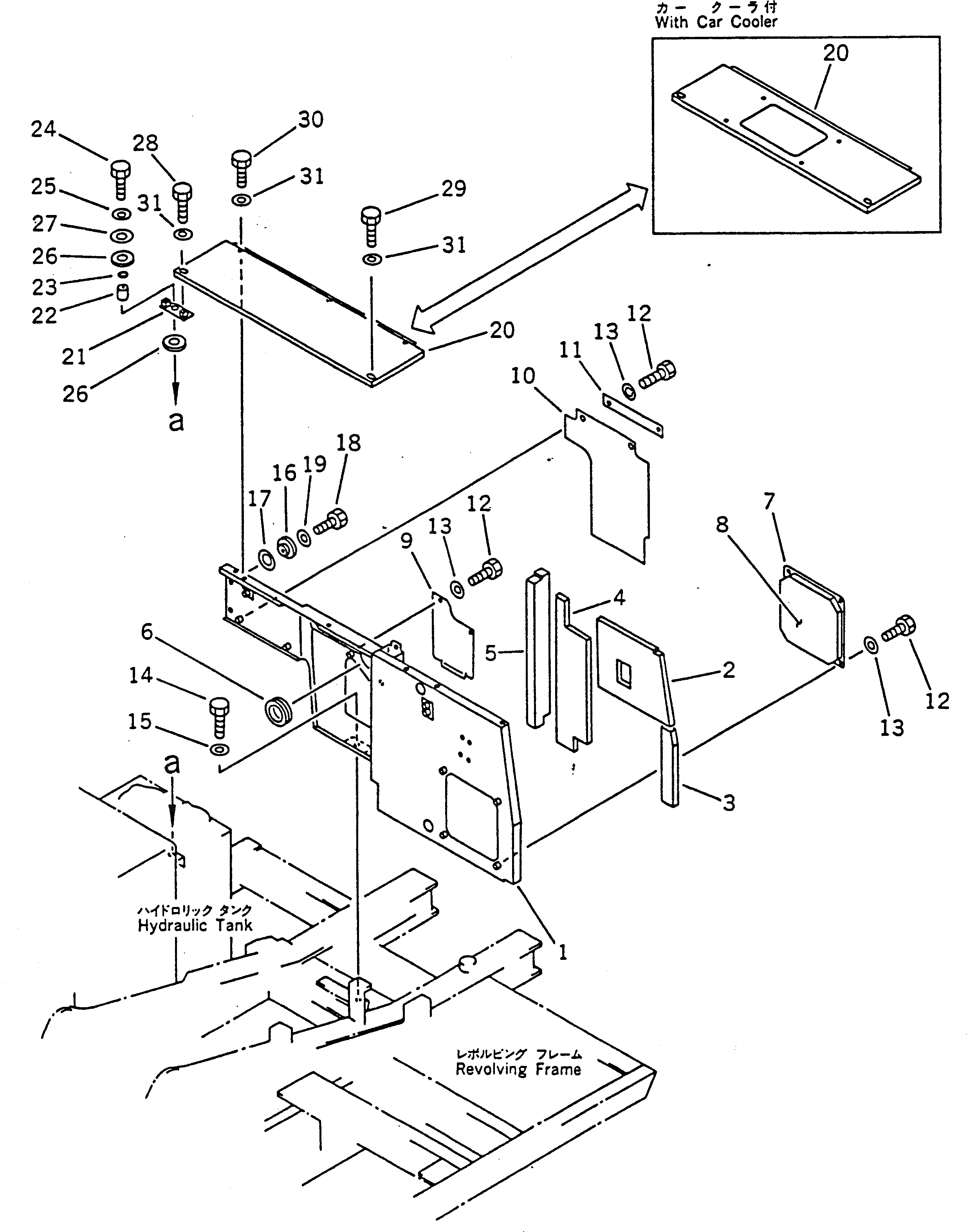
1

203-54-56172

COVER ASS'Y

1

203-973-5980

COVER ASS'Y,(WITH ADD. FILTER, FOR ATT.)

2

203-54-52710

SHEET

3

203-54-52720

SHEET

4

203-54-52471

SHEET

5

203-54-56720

SHEET

6

20D-54-41470

TRIM

7

203-54-56680

COVER

8

203-54-56870

SHEET

9

203-54-56670

COVER

10

203-54-55910

SHEET

11

203-54-58290

COVER

12

01010-51020

BOLT

13

01643-31032

WASHER

14

01010-51025

BOLT

15

01643-31032

WASHER

16

203-54-56920

COLLAR

17

113-54-31350

SEAT

18

01010-51035

BOLT

19

01643-31032

WASHER

20

203-54-52233

COVER

20

203-978-5570

COVER,(WITH CAR COOLER)

21

203-54-56850

BRACKET

22

20X-62-21550

SPACER

23

07000-03025

O-RING

24

01010-51250

BOLT

25

01643-31232

WASHER

26

203-62-42770

CUSHION

27

566-35-42430

PLATE

28

01016-51040

BOLT

29

01010-51050

BOLT

30

01010-51025

BOLT

31

01643-31032

WASHER

Выбрано товаров: 33