Запчасти Komatsu PC130-5 ЛЕВ. СТОЙКА И РЫЧАГ (С ХОД БЛОКИР.) (ДЛЯ WRIST РЫЧАГ УПРАВЛ-Я)(СТАНДАРТН. ДЛЯ США ONLY)(№7-) ЧАСТИ КОРПУСА

Схема запчастей Komatsu PC130-5 - ЛЕВ. СТОЙКА И РЫЧАГ (С ХОД БЛОКИР.) (ДЛЯ WRIST РЫЧАГ УПРАВЛ-Я)(СТАНДАРТН. ДЛЯ США ONLY)(№7-) ЧАСТИ КОРПУСА
FIT
1:1
100%

Артикул

Название

Примечание

Количество

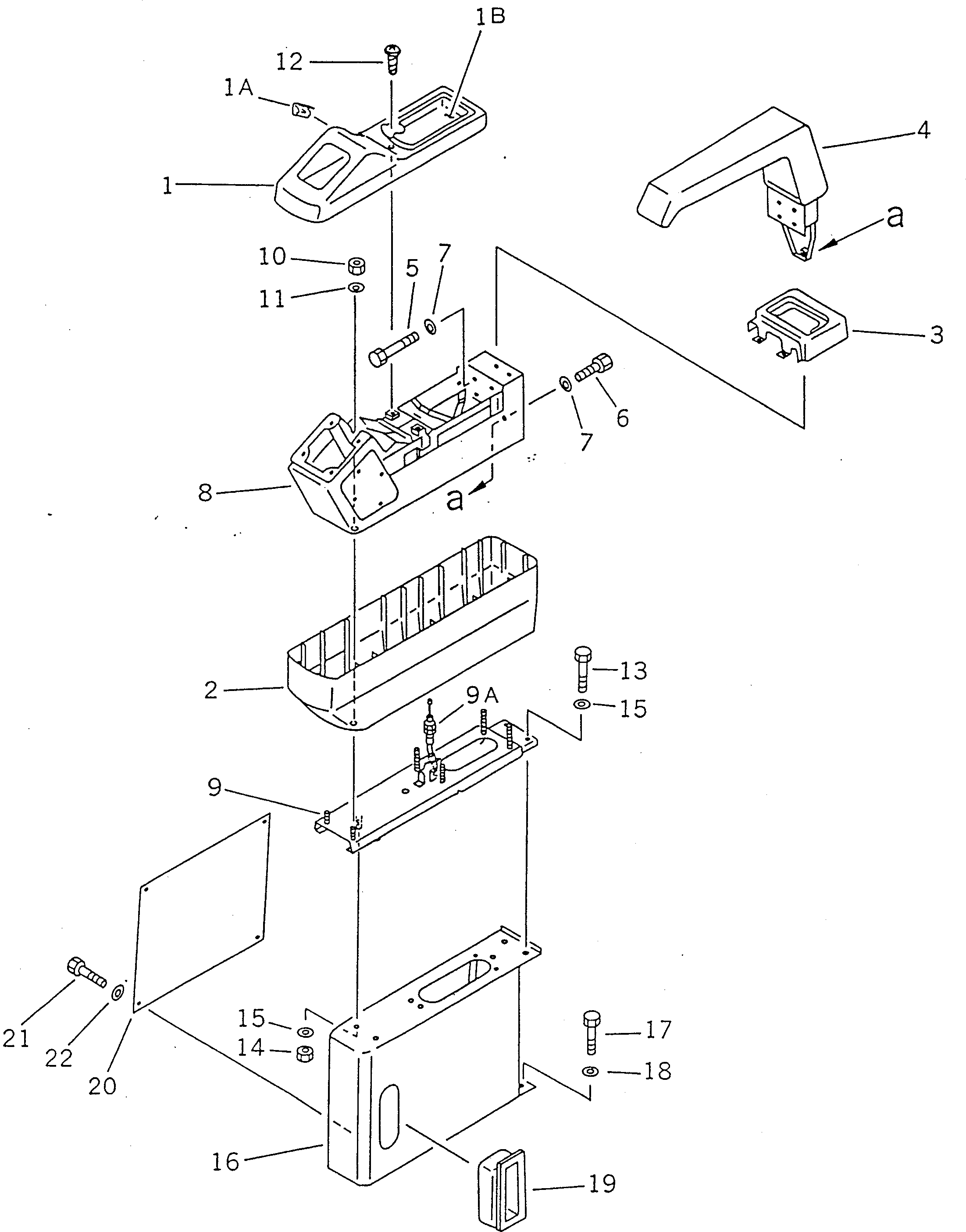
1

20Y-43-16541

COVER

1A

20Y-43-16550

BUTTON,L.H.

1B

20Y-43-16580

TRAY

2

20Y-43-16520

CASE

3

20Y-43-16560

COVER

4

20Y-43-16570

REST,ARM

5

01010-60850

BOLT

6

01010-60816

BOLT

7

01643-30823

WASHER

8

20Y-43-16530

BRACKET

9

20Y-43-16510

RAIL

9A

20Y-43-16380

CABLE

10

01580-10806

NUT

11

01643-30823

WASHER

12

20Y-43-16590

SCREW

13

01010-50820

BOLT

14

01580-10806

NUT

15

01642-20810

WASHER

16

203-43-59350

STAND

17

01010-51225

BOLT

18

01643-31232

WASHER

19

205-43-72480

COVER

20

20Y-43-16121

COVER

21

01010-50820

BOLT

22

01643-30823

WASHER

Выбрано товаров: 0