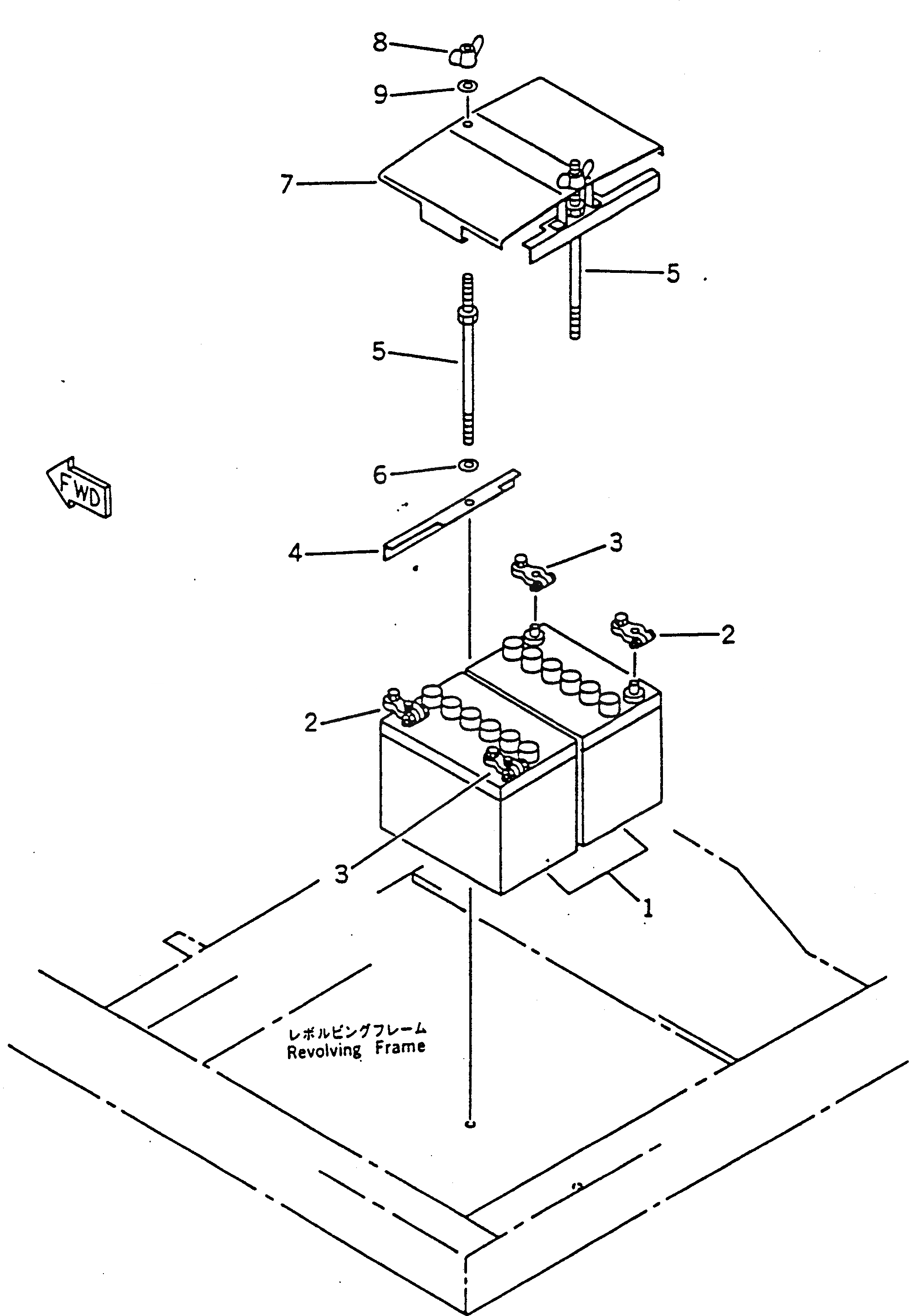
Запчасти Komatsu PC130-5 АККУМУЛЯТОР КОМПОНЕНТЫ ДВИГАТЕЛЯ И ЭЛЕКТРИКА

Схема запчастей Komatsu PC130-5 - АККУМУЛЯТОР КОМПОНЕНТЫ ДВИГАТЕЛЯ И ЭЛЕКТРИКА
FIT
1:1
100%

Артикул

Название

Примечание

Количество

1

20Y-06-11110

BATTERY (95D31R)

|1

203-06-51150

BATTERY (130E41R),(FOR COLD WEATHER)

2

08000-00000

TERMINAL¤ (+)

3

08000-00001

TERMINAL¤ (-)

4

203-06-51140

CLAMP

5

203-06-51131

BOLT

6

01643-31032

WASHER

7

203-06-56110

COVER

|7

203-06-51160

COVER,(FOR COLD WEATHER)

8

203-06-51170

NUT,WING

9

01643-31032

WASHER

Выбрано товаров: 11