Запчасти Komatsu PC130-5K ОСНОВНАЯ РАМА (ДЛЯ ДВОРНИКИ МОТОР LESS) СИСТЕМА УПРАВЛЕНИЯ И ОСНОВНАЯ РАМА

Схема запчастей Komatsu PC130-5K - ОСНОВНАЯ РАМА (ДЛЯ ДВОРНИКИ МОТОР LESS) СИСТЕМА УПРАВЛЕНИЯ И ОСНОВНАЯ РАМА
FIT
1:1
100%

Артикул

Название

Примечание

Количество

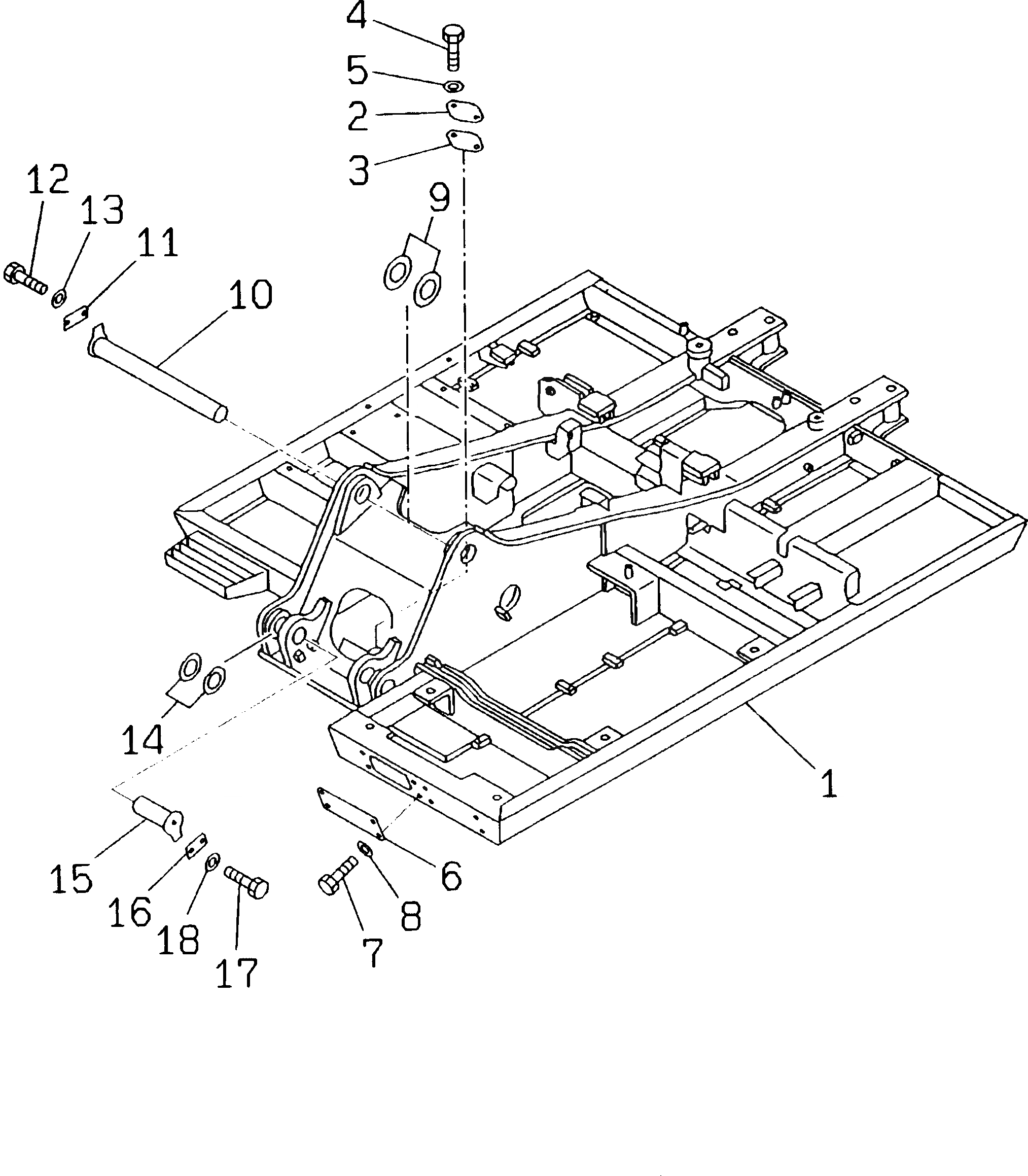
1

203-46-K1501

FRAME,REVOLVING

2

203-46-56160

COVER

3

203-46-31181

GASKET

4

01010-51230

BOLT

5

01643-31232

WASHER

6

203-06-59530

PLATE

7

01010-51020

BOLT

8

01643-31032

WASHER

9

203-70-34270

SPACER¤ 0.5MM

|9

203-70-11210

SPACER¤ 1.0MM

|9

203-70-11220

SPACER¤ 2.0MM

10

202-70-61160

PIN

11

203-46-56270

PLATE

12

01010-51230

BOLT

13

01643-31232

WASHER

14

203-70-41460

SPACER¤ 1.0MM

|14

203-70-41470

SPACER¤ 2.0MM

15

203-46-56260

PIN

16

203-46-56270

PLATE

17

01010-51230

BOLT

18

01643-31232

WASHER

Выбрано товаров: 21