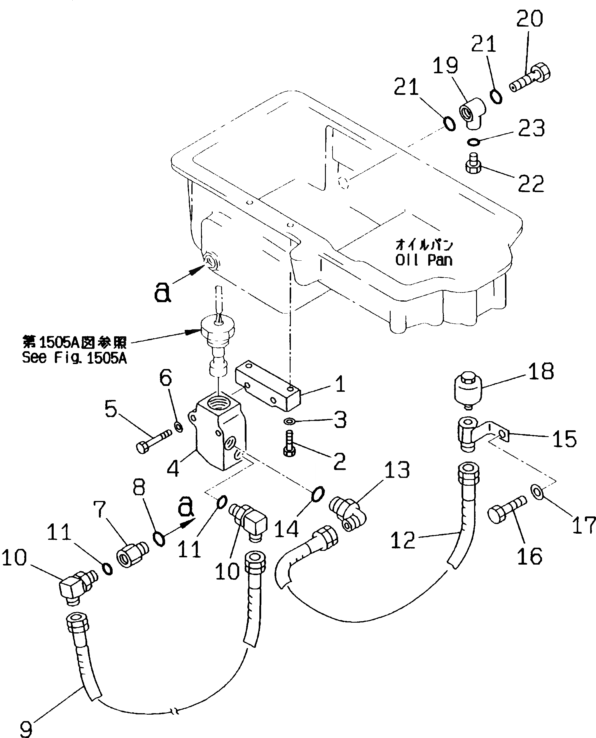
Запчасти Komatsu PC130-5K ГИДРОЛИНИЯ ДАТЧИКА УР-НЯ МАСЛА КОМПОНЕНТЫ ДВИГАТЕЛЯ И ЭЛЕКТРИКА

Схема запчастей Komatsu PC130-5K - ГИДРОЛИНИЯ ДАТЧИКА УР-НЯ МАСЛА КОМПОНЕНТЫ ДВИГАТЕЛЯ И ЭЛЕКТРИКА
FIT
1:1
100%

Артикул

Название

Примечание

Количество

1

203-01-59660

SEAT

2

01010-50845

BOLT

3

01643-30823

WASHER

4

205-01-73370

BLOCK

5

01010-50860

BOLT

6

01643-30823

WASHER

7

205-01-73380

JOINT

8

07000-32021

O-RING

9

07102-20203

HOSE

10

20D-62-12180

ELBOW

11

07002-31423

O-RING

12

07102-20305

HOSE

13

07235-10315

ELBOW

14

07002-32034

O-RING

15

203-01-59670

NIPPLE

16

01010-51020

BOLT

17

01643-31032

WASHER

18

07030-00252

BREATHER

19

205-01-73520

JOINT

20

205-01-73530

JOINT

21

07000-32021

O-RING

22

07040-11409

PLUG

23

07002-31423

O-RING

Выбрано товаров: 23