Запчасти Komatsu PC130-5S ГИДР. НАСОС. (НАСОС SUB В СБОРЕ /) (/) УПРАВЛ-Е РАБОЧИМ ОБОРУДОВАНИЕМ

Схема запчастей Komatsu PC130-5S - ГИДР. НАСОС. (НАСОС SUB В СБОРЕ /) (/) УПРАВЛ-Е РАБОЧИМ ОБОРУДОВАНИЕМ
FIT
1:1
100%

Артикул

Название

Примечание

Количество

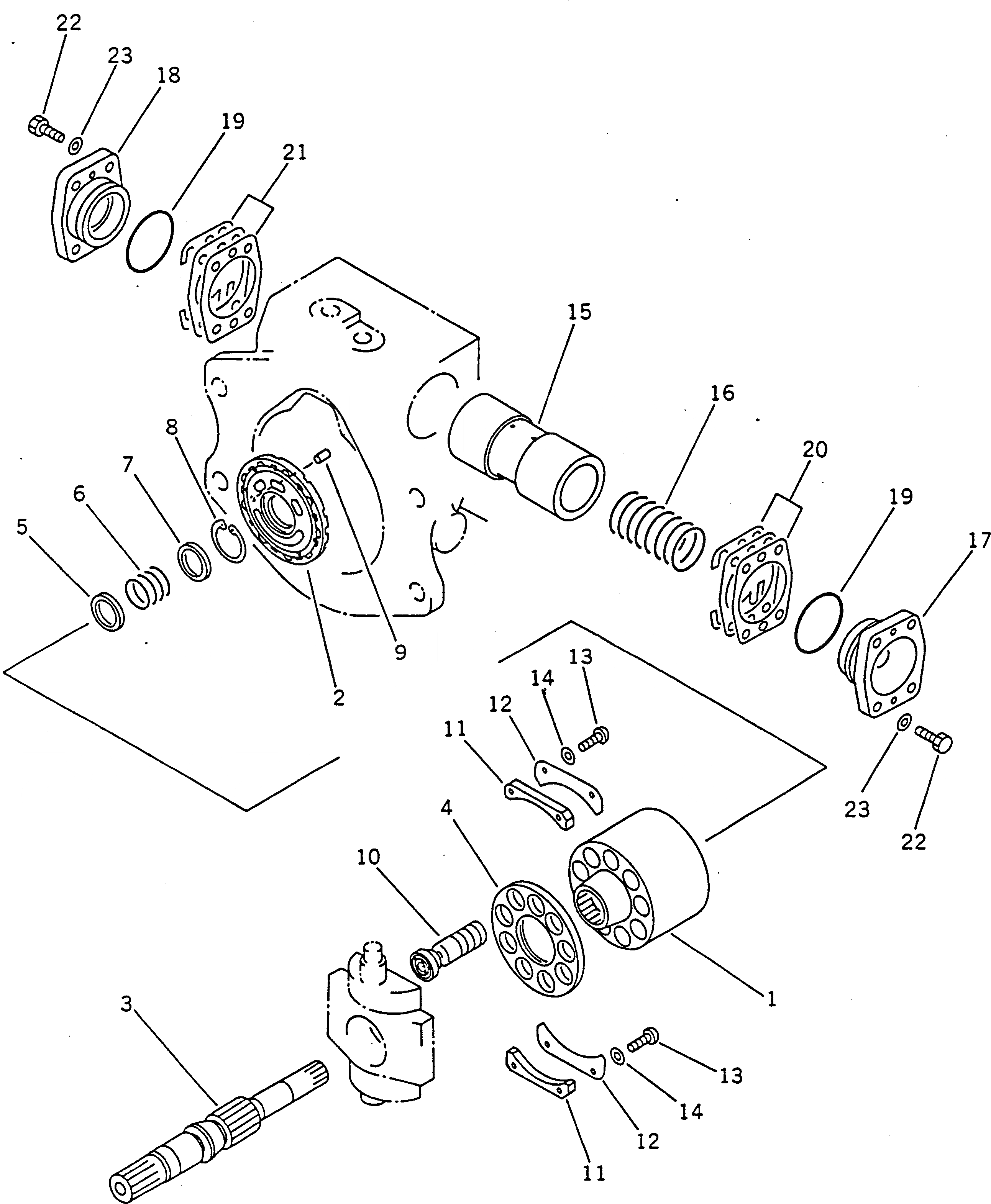
|1

708-23-04014

PUMP ASS'Y,HYDRAULIC (HPV55+55)

|1

708-23-04113

PUMP SUB ASS'Y,HYDRAULIC

|1

708-23-00611

CYLINDER BLOCK ASS'Y,FRONT

1

708-23-13151

CYLINDER BLOCK,FRONT

2

708-23-13611

PLATE,VALVE¤ FRONT

3

708-23-12711

SHAFT,FRONT

4

708-23-13342

RETAINER,SHOE

5

708-23-13130

WASHER

6

708-23-13140

SPRING

7

708-23-13120

WASHER

8

04065-03815

RING,SNAP

9

720-68-19610

PIN

10

708-23-13312

PISTON ASS'Y

11

708-23-05042

SPACER KIT

|11

SPACER

|11

SPACER

|11

SPACER

12

708-23-13431

RETAINER,BEARING

13

708-23-13460

SCREW

14

01643-30623

WASHER

15

708-23-14111

PISTON

16

708-23-14130

SPRING

17

708-23-14140

CAP

18

708-23-14150

CAP

19

07000-02055

O-RING

20

708-23-05080

SHIM KIT

|20

SHIM

|20

SHIM

|20

SHIM

|20

SHIM

21

708-23-05090

SHIM KIT

|21

SHIM

|21

SHIM

|21

SHIM

|21

SHIM

22

01016-50840

BOLT

23

01643-30823

WASHER

Выбрано товаров: 37