Запчасти Komatsu PC130-5S ГИДР. НАСОС. (СЕРВОКЛАПАН SUB В СБОРЕ¤ ЗАДН.) (/) УПРАВЛ-Е РАБОЧИМ ОБОРУДОВАНИЕМ

Схема запчастей Komatsu PC130-5S - ГИДР. НАСОС. (СЕРВОКЛАПАН SUB В СБОРЕ¤ ЗАДН.) (/) УПРАВЛ-Е РАБОЧИМ ОБОРУДОВАНИЕМ
FIT
1:1
100%

Артикул

Название

Примечание

Количество

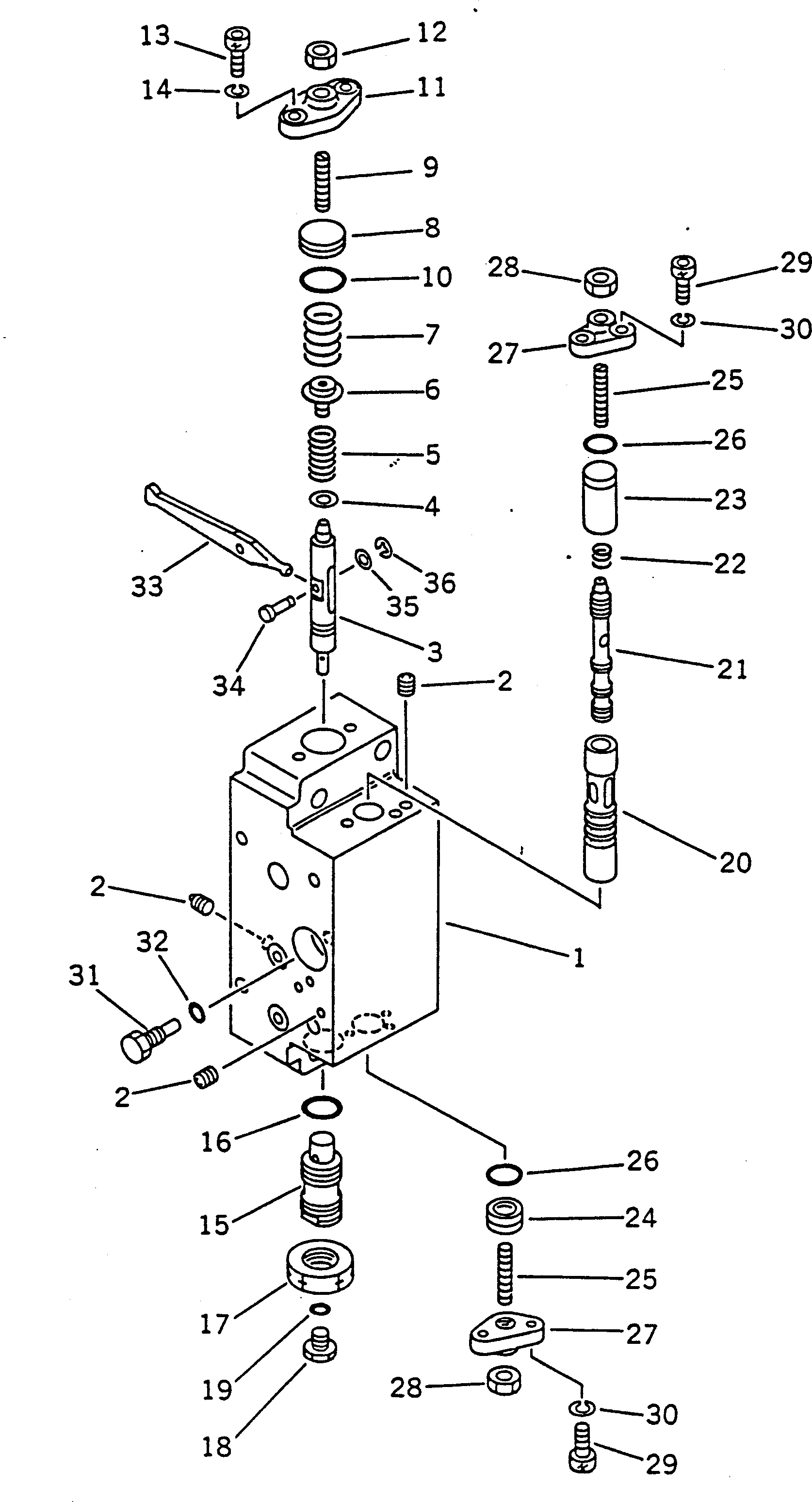
|1

708-23-04014

PUMP ASS'Y,HYDRAULIC (HPV55+55)

|1

708-23-04612

VALVE ASS'Y,SERVO¤ REAR

|1

708-23-16502

VALVE SUB ASS'Y,SERVO¤ REAR

|1

708-23-00411

BODY ASS'Y

1

BODY

2

EXPANDER

3

708-25-15120

PISTON

4

708-25-15130

SEAT

5

708-23-15521

SPRING

6

708-23-15120

SEAT

7

708-23-15510

SPRING

8

708-23-15160

PLUG

9

708-25-15340

SCREW

10

07000-02018

O-RING

11

708-25-15150

COVER

12

01580-10806

NUT

13

708-25-15320

BOLT

14

01602-20619

WASHER,SPRING

15

708-25-15171

PLUG

16

07002-02034

O-RING

17

07239-12009

NUT

18

07040-11007

PLUG

19

07002-01023

O-RING

20

708-25-15180

SLEEVE

21

708-25-15280

SPOOL

22

708-25-15310

SPRING

23

708-25-15330

SPACER

24

708-25-15430

PLUG

25

708-25-15340

SCREW

26

07000-02012

O-RING

27

708-25-15250

COVER

28

01580-10806

NUT

29

708-25-15320

BOLT

30

01602-20619

WASHER,SPRING

31

708-25-15260

PLUG

32

07002-00823

O-RING

33

708-23-15150

ARM

34

708-25-15360

PIN

35

708-25-15370

WASHER

36

708-25-15380

E-RING

Выбрано товаров: 40