Запчасти Komatsu PC130-5S СИГНАЛ ХОДА (ДЛЯ WRIST РЫЧАГ УПРАВЛ-Я) (СТАНДАРТН. ДЛЯ США ONLY)(№7-) КОМПОНЕНТЫ ДВИГАТЕЛЯ И ЭЛЕКТРИКА

Схема запчастей Komatsu PC130-5S - СИГНАЛ ХОДА (ДЛЯ WRIST РЫЧАГ УПРАВЛ-Я) (СТАНДАРТН. ДЛЯ США ONLY)(№7-) КОМПОНЕНТЫ ДВИГАТЕЛЯ И ЭЛЕКТРИКА
FIT
1:1
100%

Артикул

Название

Примечание

Количество

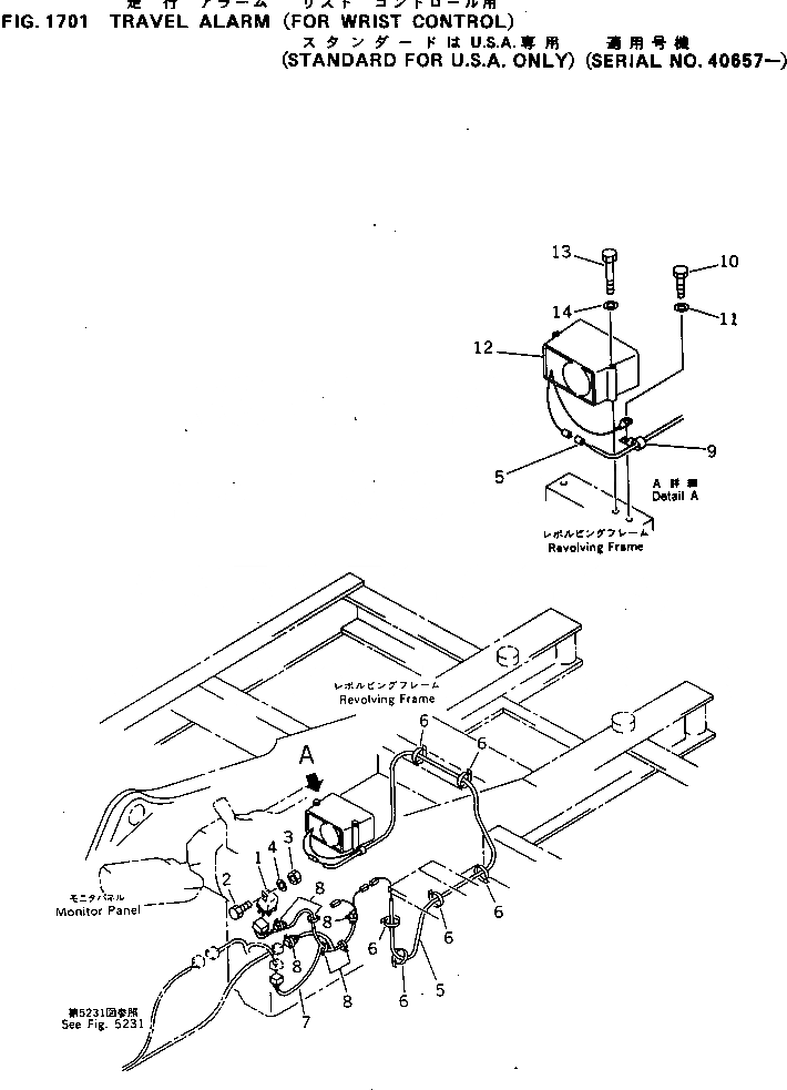
1

22W-06-13450

RELAY ASS'Y

2

01010-50620

BOLT

3

01580-10605

NUT

4

01643-30623

WASHER

5

21K-06-39250

WIRING HARNESS

6

08034-00519

BAND

7

21K-06-39260

CABLE

8

08034-00519

BAND

9

08036-01014

CLIP

10

01010-51020

BOLT

11

01643-31032

WASHER

12

08164-00000

BUZZER,TRAVEL

13

01010-50895

BOLT

14

01643-30823

WASHER

Выбрано товаров: 0