Запчасти Komatsu PC130-5S КОНТРОЛЬ ХОДА МЕХАНИЗМ (С ХОД БЛОКИР.)(СТАНДАРТН. ДЛЯ США ONLY)(№7-) СИСТЕМА УПРАВЛЕНИЯ И ОСНОВНАЯ РАМА

Схема запчастей Komatsu PC130-5S - КОНТРОЛЬ ХОДА МЕХАНИЗМ (С ХОД БЛОКИР.)            (СТАНДАРТН. ДЛЯ США ONLY)(№7-) СИСТЕМА УПРАВЛЕНИЯ И ОСНОВНАЯ РАМА
FIT
1:1
100%

Артикул

Название

Примечание

Количество

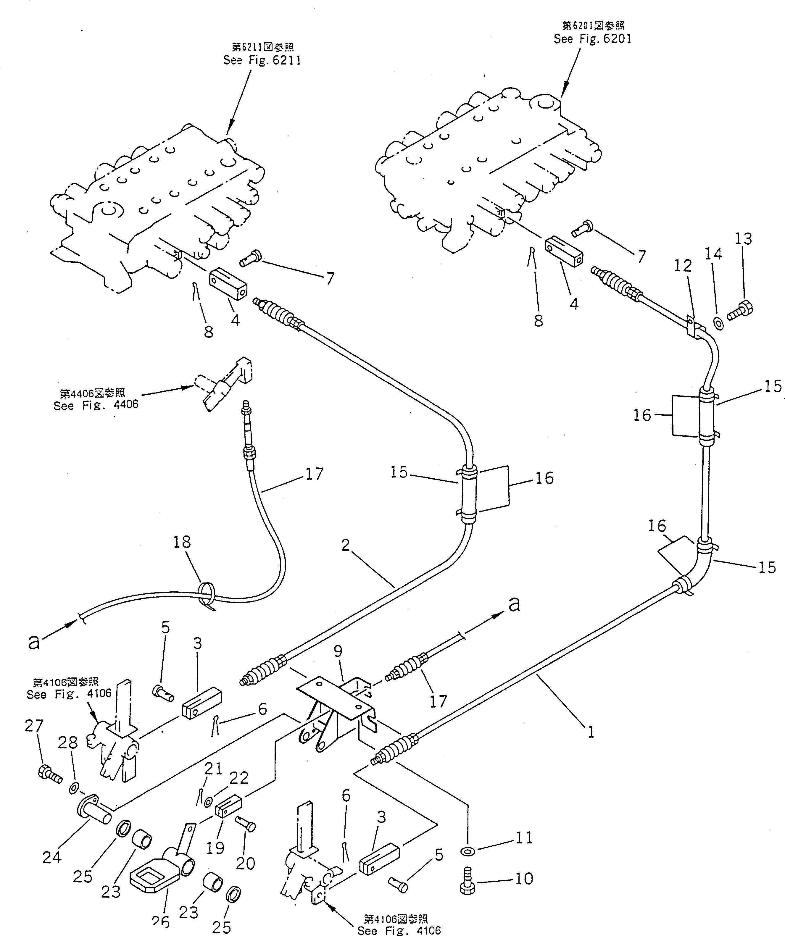
1

203-43-56242

CABLE

2

203-43-56262

CABLE

3

04211-20844

YOKE

4

04210-20832

YOKE

5

04205-10822

PIN

6

04050-12015

PIN,COTTER

7

04205-10822

PIN

8

04050-12015

PIN,COTTER

9

203-43-59340

BRACKET

10

01010-51020

BOLT

11

01643-31032

WASHER

12

08036-01214

CLIP

13

01010-51020

BOLT

14

01643-31032

WASHER

15

203-43-56620

COVER

16

08034-00414

BAND

17

203-43-59370

CABLE

18

08034-00414

BAND

19

20T-43-12160

YOKE

20

04205-10618

PIN

21

04050-11612

PIN,COTTER

22

01641-20608

WASHER

23

09350-01615

BUSHING

24

175-43-42581

PIN

25

01622-01603

SEAL,DUST

26

203-43-59330

LEVER

27

01010-50616

BOLT

28

01643-30623

WASHER

Выбрано товаров: 28