Качественные детали и логистика
Оригинальные и аналоговые запчасти с доставкой по России, Казахстану и Беларуси
©2022 PartSell ООО "Система" ИНН 2463123282 ОГРН 1212400004838
Центральный офис: г. Красноярск, Академика Киренского, д.87, пом.4
Телефон: 8 (800) 777-65-74 Email: zakaz@partsell.ru
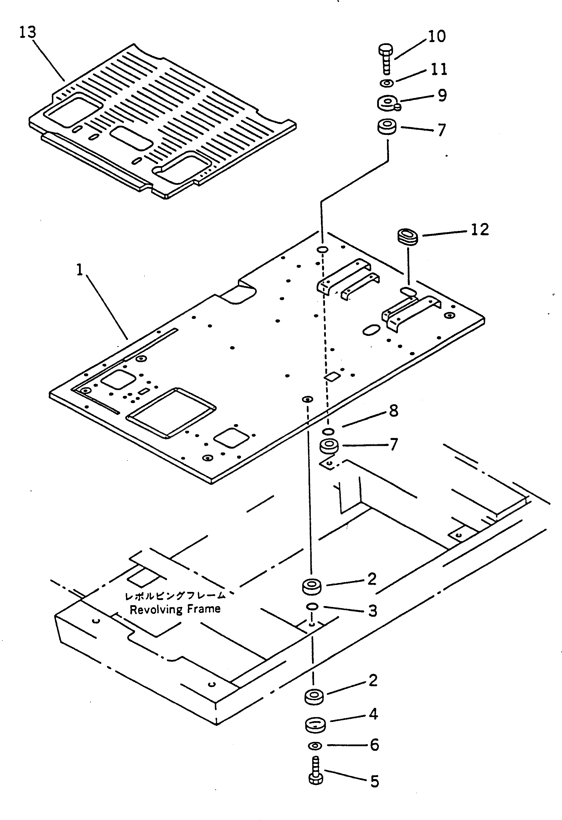
ОСНОВН. КОНСТРУКЦИЯ (ДЛЯ УДЛИНН. РЫЧАГ УПРАВЛ-Е)
№
Артикул
Название
Примечание
Количество
1
203-54-57631
FRAME,FLOOR
|1
203-973-5411
FRAME¤ FLOOR,(2-ACT.ATT.AND CRUS¤OTHER ATT)
2
203-54-21110
CUSHION
3
07000-03025
O-RING
4
201-54-21860
COLLAR
5
01010-51675
BOLT
6
01643-31645
WASHER
7
8
9
203-54-56860
10
11
12
176-911-4160
GROMMET
13
20Y-54-16541
MAT,FLOOR
|13
203-973-5360
MAT,FLOOR (1-ACTUATER ATTACHMENT)
203-973-5420
MAT,FLOOR (2-ACTUATER ATTACHMENT)
Выбрано товаров: 0