Запчасти Komatsu PC130-6 УПРАВЛ-Е ПОДАЧ. ТОПЛИВА(№-) КОМПОНЕНТЫ ДВИГАТЕЛЯ

Схема запчастей Komatsu PC130-6 - УПРАВЛ-Е ПОДАЧ. ТОПЛИВА(№-) КОМПОНЕНТЫ ДВИГАТЕЛЯ
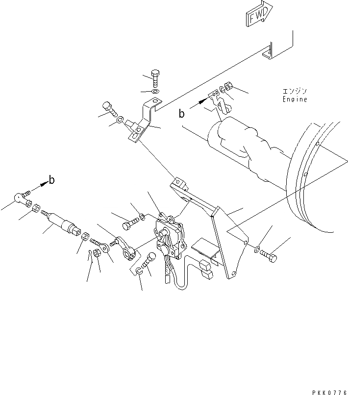
1
2
3
4
5
5A
6
6
7
8
9
10
11
12
13
14
15
16
17
18
19
20
21
FIT
1:1
100%

Артикул

Название

Примечание

Количество

1

203-43-64110

BRACKET

2

01010-81050

BOLT

3

01643-31032

WASHER

4

203-43-64121

PLATE

5

01010-81230

BOLT

5A

01010-81255

BOLT

6

01643-31232

WASHER

7

7834-40-2002

MOTOR ASS'Y

|7

7834-40-2001

MOTOR ASS'Y

|7

7834-40-2000

MOTOR ASS'Y

8

01010-81040

BOLT

9

01643-31032

WASHER

10

203-43-61120

LEVER

11

01010-81030

BOLT

12

01602-21030

WASHER

13

203-43-62121

SPRING ASS'Y

|13

203-43-62120

SPRING ASS'Y

14

01582-11008

NUT

15

04252-21061

END

16

01593-31008

NUT

17

04050-12018

PIN

18

01582-11008

NUT

19

20Y-43-12180

JOINT

20

01580-10605

NUT

21

01602-20619

WASHER

Выбрано товаров: 0