Запчасти Komatsu PC130-6 КАБИНА (КАБИНА¤ РУЧКА И ФИКСАТОР ОТКРЫТИЯ)(№-999) КАБИНА ОПЕРАТОРА И СИСТЕМА УПРАВЛЕНИЯ

Схема запчастей Komatsu PC130-6 - КАБИНА (КАБИНА¤ РУЧКА И ФИКСАТОР ОТКРЫТИЯ)(№-999) КАБИНА ОПЕРАТОРА И СИСТЕМА УПРАВЛЕНИЯ
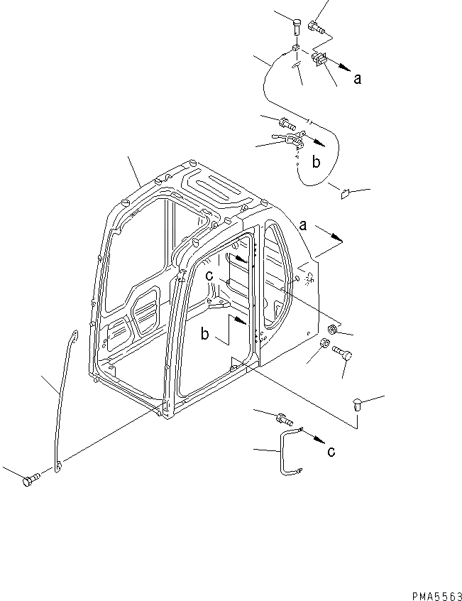
1
2
3
4
5
6
7
8
9
10
11
12
13
14
15
16
17
FIT
1:1
100%

Артикул

Название

Примечание

Количество

1

CAB

2

20Y-54-35680

GRIP

3

01435-30820

BOLT

4

20Y-54-35151

GRIP

5

01435-31025

BOLT

6

20Y-54-14540

PLUG

7

20Y-54-36380

LOCK

8

01435-30820

BOLT

9

20Y-54-35982

LOCK,RELEASE

9

20Y-54-35981

LOCK,RELEASE

10

01435-30616

BOLT

11

20Y-54-35995

CABLE

11

20Y-54-35994

CABLE

11

20Y-54-35993

CABLE

12

04205-10520

PIN

13

04052-10530

PIN

14

09415-01610

CAP

15

08051-00801

CLIP

16

20Y-54-11611

STOPPER

17

01580-11008

NUT

Выбрано товаров: 20