Качественные детали и логистика
Оригинальные и аналоговые запчасти с доставкой по России, Казахстану и Беларуси
©2022 PartSell ООО "Система" ИНН 2463123282 ОГРН 1212400004838
Центральный офис: г. Красноярск, Академика Киренского, д.87, пом.4
Телефон: 8 (800) 777-65-74 Email: zakaz@partsell.ru
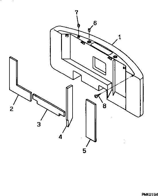
ПРОТИВОВЕС(№87-999)
№
Артикул
Название
Примечание
Количество
1
203-46-64310
WEIGHT,COUNTER
2
203-46-64142
SHEET
3
203-46-64161
4
203-46-64171
5
203-46-64191
6
07049-03645
PLUG
7
07049-01215
8
01370-00508
SCREW
Выбрано товаров: 0