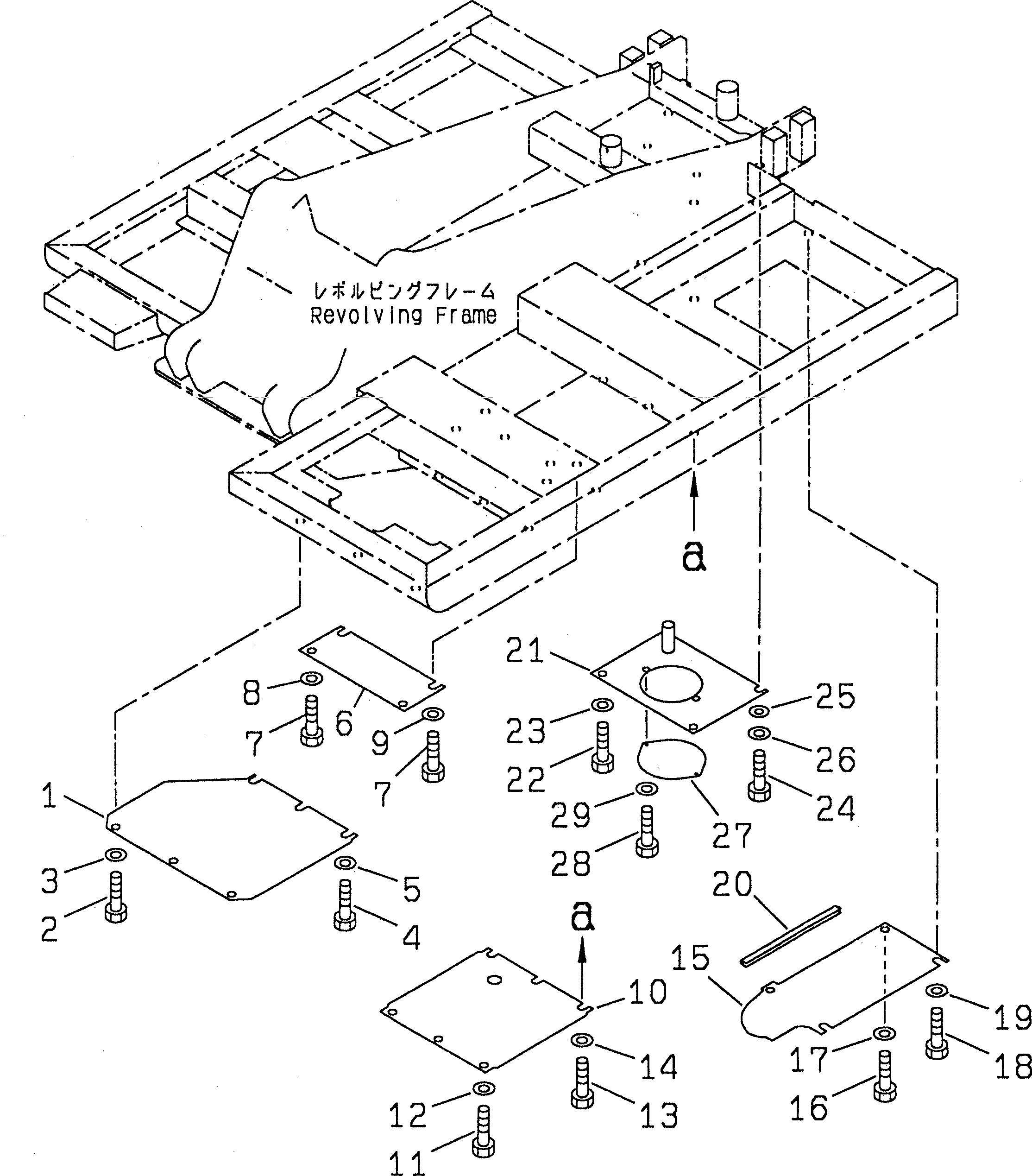
Запчасти Komatsu PC130-6 НИЖН. КРЫШКА (ЛЕВ.)(№-) ЧАСТИ КОРПУСА

Схема запчастей Komatsu PC130-6 - НИЖН. КРЫШКА (ЛЕВ.)(№-) ЧАСТИ КОРПУСА
FIT
1:1
100%

Артикул

Название

Примечание

Количество

1

203-54-62712

COVER

2

01010-51230

BOLT

3

01643-31232

WASHER

4

01010-51230

BOLT

5

124-54-26540

WASHER

6

203-54-62730

PLATE

7

01010-51230

BOLT

8

01643-31232

WASHER

9

124-54-26540

WASHER

10

203-54-62722

COVER

11

01010-51230

BOLT

12

01643-31232

WASHER

13

01010-51230

BOLT

14

124-54-26540

WASHER

15

203-54-62752

COVER

16

01010-51230

BOLT

17

01643-31232

WASHER

18

01010-51230

BOLT

19

124-54-26540

WASHER

20

09412-10005

SEAL

21

203-54-62763

COVER

22

01010-51230

BOLT

23

124-54-26540

WASHER

24

01010-51230

BOLT

25

20Y-54-15740

COLLAR

26

01643-31232

WASHER

27

20Y-54-28790

COVER

28

01010-51230

BOLT

29

01643-31232

WASHER

Выбрано товаров: 29