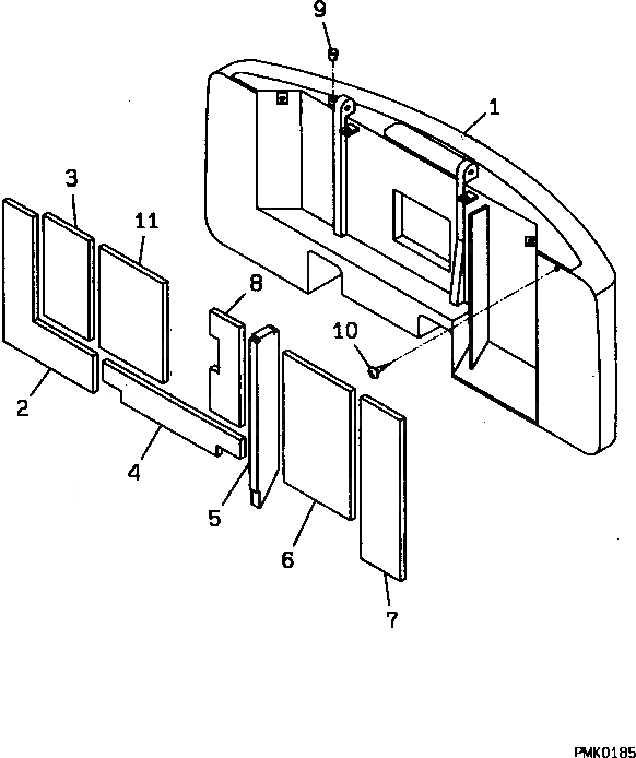
Запчасти Komatsu PC130-6G ПРОТИВОВЕС (С КРЮК)(№-8) ЧАСТИ КОРПУСА

Схема запчастей Komatsu PC130-6G - ПРОТИВОВЕС (С КРЮК)(№-8) ЧАСТИ КОРПУСА
FIT
1:1
100%

Артикул

Название

Примечание

Количество

1

203-46-64410

WEIGHT,COUNTER

2

203-46-64142

SHEET

3

203-46-64230

SHEET

4

203-46-64161

SHEET

5

203-46-64171

SHEET

6

203-46-64180

SHEET

7

203-46-64191

SHEET

8

203-46-64240

SHEET

9

07049-01215

PLUG

10

01370-00508

SCREW

11

203-46-64221

SHEET

Выбрано товаров: 11