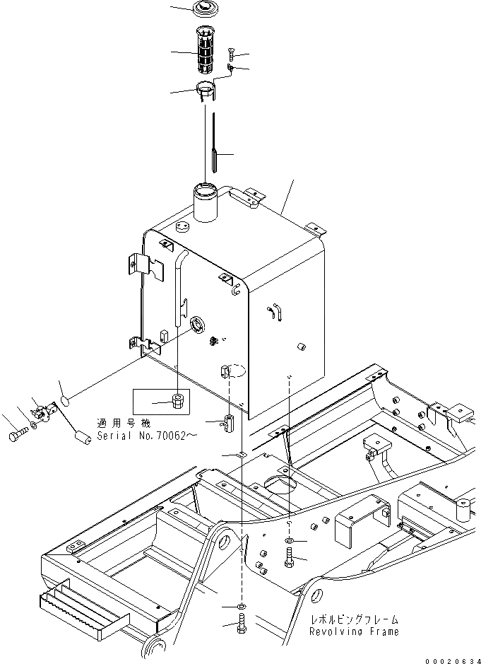
Запчасти Komatsu PC130-7K ТОПЛИВН. БАК. (С ЗАПРАВОЧН. НАСОС) ТОПЛИВН. БАК. AND КОМПОНЕНТЫ

Схема запчастей Komatsu PC130-7K - ТОПЛИВН. БАК. (С ЗАПРАВОЧН. НАСОС) ТОПЛИВН. БАК. AND КОМПОНЕНТЫ
1
2
3
4
5
6
7
8
9
10
11
12
13
14
14
15
16
17
FIT
1:1
100%

Артикул

Название

Примечание

Количество

1

203-04-71110

TANK

2

203-04-K1140

END

3

07700-50240

VALVE

4

20Y-04-11160

CAP

5

7861-92-5810

SENSOR

6

07000-13050

O-RING

7

01010-80612

BOLT

8

01643-30623

WASHER

|9

22U-04-21200

FLOAT ASS'Y

9

22U-04-21210

GUIDE

10

20Y-04-21580

CAP

11

22U-04-21220

FLOAT

12

SCREW

13

07056-18425

STRAINER

14

01010-81635

BOLT

15

01643-31645

WASHER

16

21T-54-16150

WASHER

17

195-03-11570

SHIM¤ 1.0MM

Выбрано товаров: 18