Запчасти Komatsu PC130-7K ГИДР. БАК. ГИДРАВЛИКА

Схема запчастей Komatsu PC130-7K - ГИДР. БАК. ГИДРАВЛИКА
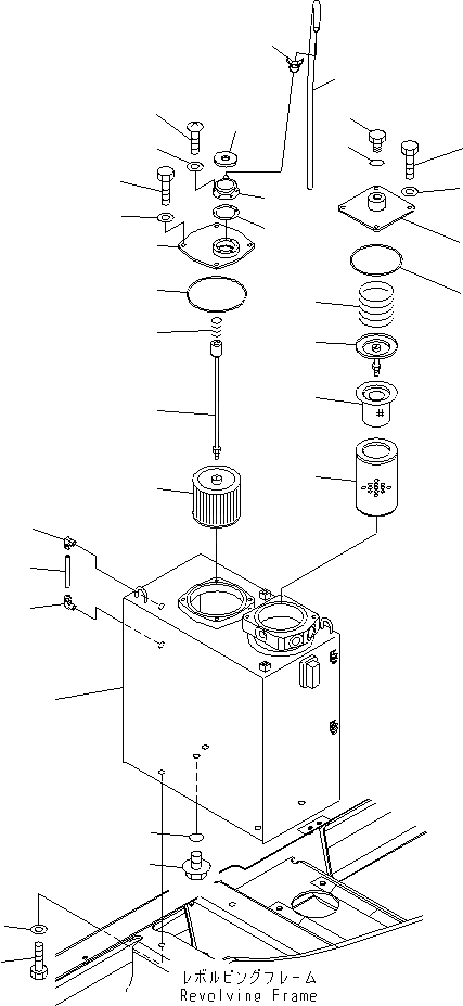
27
26
30
31
10
11
9
8
7
6
5
4
28
29
24
25
1
3
2
3
12
13
14
15
16
18
17
22
21
23
20
19
FIT
1:1
100%

Артикул

Название

Примечание

Количество

1

203-60-71111

TANK

2

203-60-31160

TUBE

3

203-60-31100

ELBOW ASS'Y

4

07063-51100

ELEMENT

5

203-60-52260

STRAINER

6

203-60-52250

VALVE ASS'Y

7

175-60-27340

SPRING

8

07000-15155

O-RING

9

203-60-71320

COVER

10

01010-81225

BOLT

11

01643-31232

WASHER

12

20Y-60-21311

STRAINER

13

203-60-61161

ROD

14

12R-60-11230

SPRING

15

07000-15180

O-RING

16

203-60-61240

COVER

17

01010-81225

BOLT

18

01643-31232

WASHER

19

20Y-60-21340

GASKET

20

208-60-71180

FILLER NECK

|20

20Y-60-21460

NECK

21

01252-70516

BOLT

22

01601-20513

WASHER

23

20Y-60-21440

CAP

|23

20Y-60-21470

ELEMENT

24

07044-12412

PLUG

25

07002-02434

O-RING

26

07270-61410

TUBE

27

07285-00155

CLIP

28

01010-81635

BOLT

29

01643-31645

WASHER

30

07040-12012

PLUG

31

07002-12034

O-RING

Выбрано товаров: 33