Запчасти Komatsu PC130-8 ТОПЛИВН. БАК.(№C-) ТОПЛИВН. БАК.

Схема запчастей Komatsu PC130-8 - ТОПЛИВН. БАК.(№C-) ТОПЛИВН. БАК.
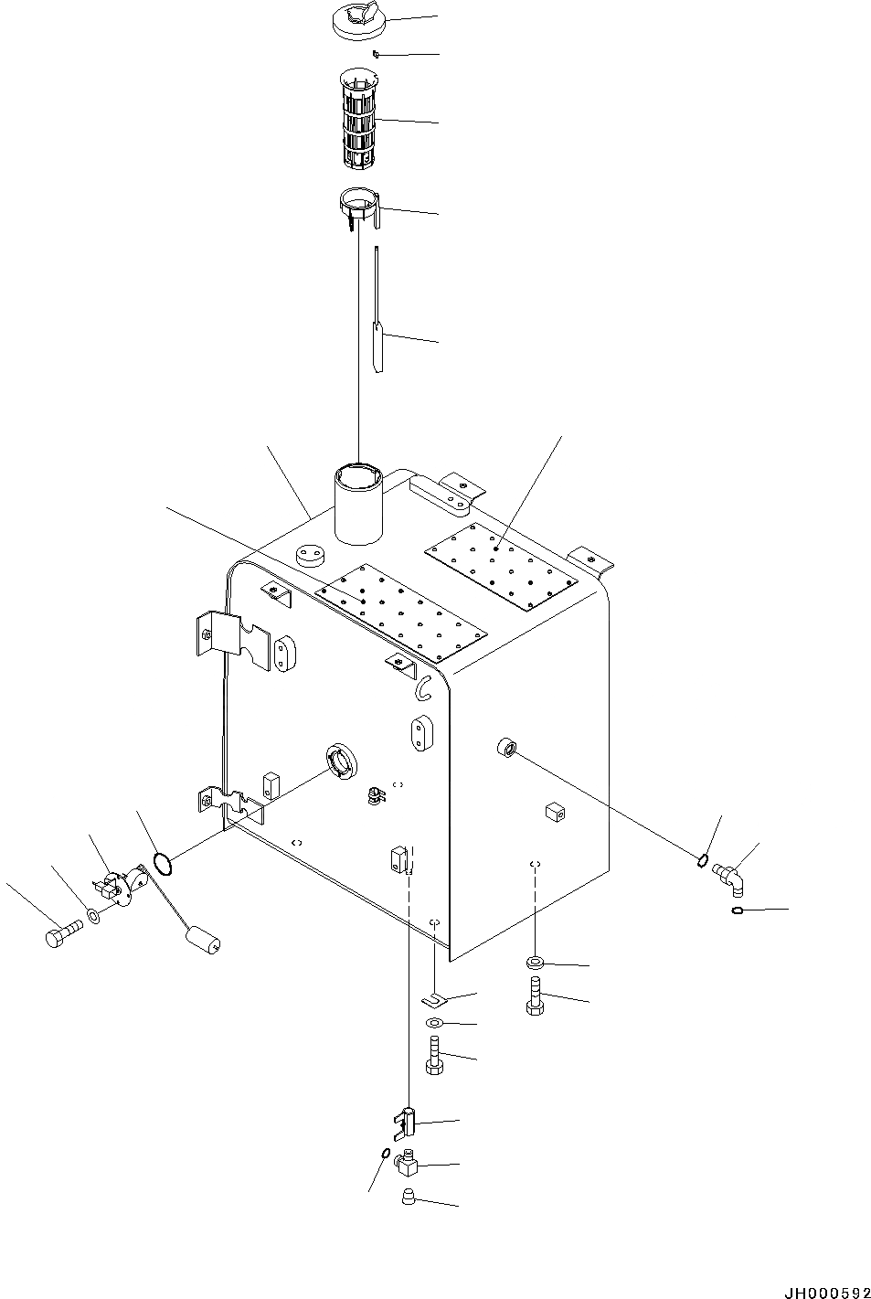
23
21
20
17
16
15
14
13
12
11
10
9
8
7
6
5
4
2
3
1
19
18
22
20
FIT
1:1
100%

Артикул

Название

Примечание

Количество

1

203-04-11111

Tank

2

07700-50240

Valve

3

20Y-04-41231

Elbow

4

07043-A0108

Plug, Taper

5

02896-11009

O-ring

6

20Y-04-11161

Cap

6

20Y-04-11240

Packing

7

7861-92-5810

Sensor

8

07000-13050

O-ring

9

01010-80612

Bolt

10

01643-30623

Washer

10

22U-04-21241

Strainer Assembly

10

22U-04-21200

Float Assembly

11

22U-04-21210

Guide

12

20Y-04-21580

Cap

13

22U-04-21220

Float

14

07056-18425

Strainer

15

02782-10315

Elbow

16

07002-12034

O-ring

17

02896-11009

O-ring

18

203-00-11910

Plate

19

203-00-11920

Plate

20

01010-81635

Bolt

21

01643-31645

Washer

22

21T-54-16150

Washer

23

195-03-11570

Shim, T=1.0mm

Выбрано товаров: 26