Запчасти Komatsu PC130-8M0 LS ТРУБЫ (БЕЗ -ДОПОЛН. АКТУАТОР ТРУБЫ, АККУМУЛЯТОР) H [ГИДРАВЛИКА]

Схема запчастей Komatsu PC130-8M0 - LS ТРУБЫ (БЕЗ -ДОПОЛН. АКТУАТОР ТРУБЫ, АККУМУЛЯТОР) H [ГИДРАВЛИКА]
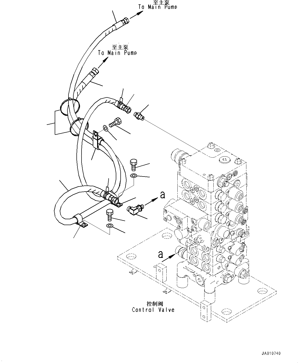
1
2
3
4
5
6
7
8
9
10
11
12
3
1
11
10
13
14
FIT
1:1
100%

Артикул

Название

Примечание

Количество

1

203-62-17572

HOSE

2

20Y-62-22860

BAND, BROWN

3

203-62-17561

HOSE

4

20Y-62-22810

BAND, YELLOW

5

04435-52112

CLIP

6

01010-81230

BOLT

7

01643-31232

WASHER

8

04434-52112

CLIP

9

04435-52112

CLIP

10

01010-81220

BOLT

11

01643-31232

WASHER

12

08034-20519

BAND

13

02781-0021D

UNION(REFER TO PAGE 189)

14

21K-62-72730

ELBOW(REFER TO PAGE 189)

Выбрано товаров: 14