Запчасти Komatsu PC130F-7 ГОЛОВКА ЦИЛИНДРОВ A

Схема запчастей Komatsu PC130F-7 - ГОЛОВКА ЦИЛИНДРОВ A
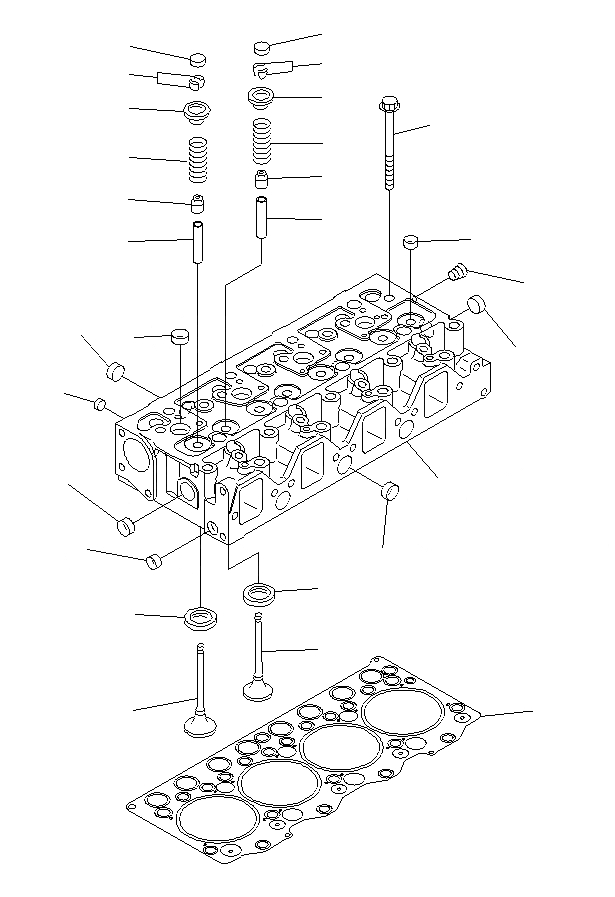
16
16
13
13
12
12
18
14
14
15
15
2
6
2
9
7
8
8
5
8
1
6
8
4
3
11
17
10
FIT
1:1
100%

Артикул

Название

Примечание

Количество

|$1

6208-11-1100

CYLINDER HEAD A.,VALVE LESS

1

HEAD, CYLINDER

2

6204-19-1310

GUIDE,VALVE

3

6207-11-1431

SEAT,INTAKE VALVE (STD)

|$5

6207-19-1431

SEAT, 0.25MM,INTAKE VALVE (OS

|$6

6207-18-1431

SEAT, 0.50MM,INTAKE VALVE (OS

4

6208-11-1440

SEAT,EXHAUST VALVE (STD)

|$8

6208-19-1440

SEAT, 0.25MM,EXHAUST VALVE (O

|$9

6208-18-1440

SEAT, 0.50MM,EXHAUST VALVE (O

5

07046-41008

PLUG

6

07046-41810

PLUG

7

07046-42216

PLUG

8

07046-42516

PLUG

9

02720-40104

PLUG

10

6207-41-4130

VALVE,INTAKE

11

6209-41-4210

VALVE,EXHAUST

12

6204-41-4510

SEAT

13

6204-41-4520

COTTER

14

6204-41-4410

SPRING,VALVE

15

6204-41-4541

SEAL (K1)

16

6204-41-4550

CAP

17

6204-11-1840

GASKET (K1)

18

6204-13-1610

BOLT

Выбрано товаров: 23