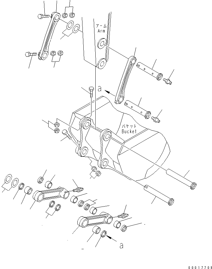
Запчасти Komatsu PC138US-2-AT СОЕДИНЕНИЕ КОВША РАБОЧЕЕ ОБОРУДОВАНИЕ

Схема запчастей Komatsu PC138US-2-AT - СОЕДИНЕНИЕ КОВША РАБОЧЕЕ ОБОРУДОВАНИЕ
1
1
2
2
3
3
3
3
4
4
4
5
5
5
6
6
7
8
9
10
11
12
13
14
15
16
17
18
19
20
21
22
23
24
FIT
1:1
100%

Артикул

Название

Примечание

Количество

|1

22B-70-00230

LINK ASS'Y

1

LINK

2

21J-70-24320

BUSHING

3

21J-70-24330

BUSHING

4

22B-70-12170

SEAL,DUST

5

21W-70-41440

SEAL,DUST

6

07020-00000

FITTING

7

202-70-64121

LINK

8

202-70-64131

LINK

9

202-70-64151

PIN

10

07020-00000

FITTING

11

21Y-70-14770

SPACER¤ 1.0MM

|11

21Y-70-14780

SPACER¤ 2.0MM

12

01011-81620

BOLT

13

01580-11613

NUT

14

202-70-64162

PIN

15

07020-00000

FITTING

16

21Y-70-14710

SPACER¤ 1.0MM

|16

21Y-70-14850

SPACER¤ 2.0MM

17

01011-81620

BOLT

18

01580-11613

NUT

19

203-70-44380

PIN

20

01011-81640

BOLT

21

01580-11613

NUT

22

203-70-44380

PIN

23

01011-81670

BOLT

24

01580-11613

NUT

Выбрано товаров: 27