Запчасти Komatsu PC138US-2 ПОВОРОТНОЕ СОЕДИНЕНИЕ ПОВОРОТН. КРУГ И КОМПОНЕНТЫ

Схема запчастей Komatsu PC138US-2 - ПОВОРОТНОЕ СОЕДИНЕНИЕ ПОВОРОТН. КРУГ И КОМПОНЕНТЫ
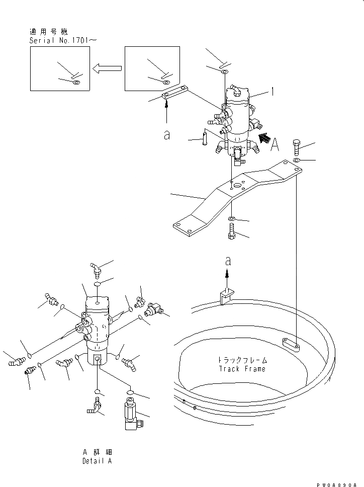
1
2
3
4
5
6
7
8
9
9
10
10
10A
10B
11
11
11
12
12
12
13
13
13
14
14
14
15
16
17
18
19
20
21
22
FIT
1:1
100%

Артикул

Название

Примечание

Количество

1

703-08-33232

SWIVEL JOINT ASS'Y

2

22B-30-11160

BRACKET

|2

203-30-66122

BRACKET

3

01010-81235

BOLT

4

01643-31232

WASHER

5

01010-81640

BOLT

6

01643-31645

WASHER

7

22B-60-11190

PLATE

|7

20U-60-12111

PLATE

8

201-60-11230

PIN

9

01641-21626

WASHER

|9

01641-21626

WASHER

10

04050-14025

PIN

|10

04050-14025

PIN

10A

01640-22232

WASHER

10B

04050-14030

PIN

11

07235-10522

ELBOW

12

07002-12434

O-RING

13

07236-10522

ELBOW

14

07002-12434

O-RING

15

07235-10422

ELBOW

16

07002-12034

O-RING

17

203-62-57891

ELBOW

18

07002-12034

O-RING

19

07230-20210

UNION

20

07002-11423

O-RING

21

208-26-11611

TEE

22

07002-11423

O-RING

Выбрано товаров: 28