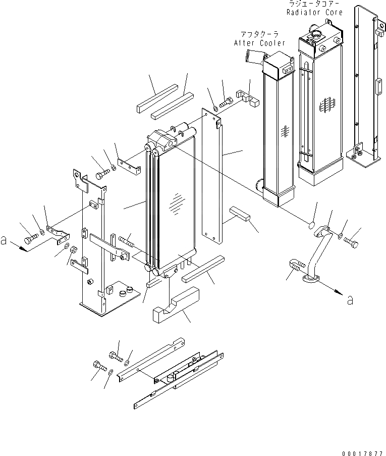
Запчасти Komatsu PC138US-2 ОХЛАЖД-Е (МАСЛООХЛАДИТЕЛЬ) СИСТЕМА ОХЛАЖДЕНИЯ

Схема запчастей Komatsu PC138US-2 - ОХЛАЖД-Е (МАСЛООХЛАДИТЕЛЬ) СИСТЕМА ОХЛАЖДЕНИЯ
1
2
3
4
5
6
7
7
8
8
9
10
11
12
13
13
14
15
16
17
17
18
18
19
20
21
22
23
24
24
25
25
26
27
28
29
30
31
32
33
34
35
36
37
37
38
39
40
41
42
43
1
2
3
4
4
5
5
6
7
8
9
10
11
12
13
14
15
16
17
18
19
20
20
21
22
22
23
23
24
FIT
1:1
100%

Артикул

Название

Примечание

Количество

1

22B-03-12120

CORE

2

22B-03-12220

BRACKET

3

22B-03-12240

PLATE

4

01010-81020

BOLT

5

01643-31032

WASHER

6

22B-03-13330

TUBE

7

07000-13032

O-RING

8

07372-21035

BOLT

9

01643-51032

WASHER

10

22B-03-12270

BRACKET

11

01010-81020

BOLT

12

01643-31032

WASHER

13

07283-33442

CLIP

14

01597-01009

NUT

15

01643-31032

WASHER

16

22B-03-12420

SHEET

17

22B-03-12490

SHEET

18

22B-03-12670

SHEET

19

22B-03-12520

SHEET

20

22B-03-12540

SHEET

21

22B-03-12630

SHEET

22

01010-81025

BOLT

23

01643-31032

WASHER

24

01164-51030

STUD

Выбрано товаров: 24