Запчасти Komatsu PC138US-2 ОСНОВН. КЛАПАН (8-КЛАПАН) (/) (ДЛЯ -АКТУАТОР НАВЕСН. ОБОРУД) ОСНОВН. КОМПОНЕНТЫ И РЕМКОМПЛЕКТЫ

Схема запчастей Komatsu PC138US-2 - ОСНОВН. КЛАПАН (8-КЛАПАН) (/) (ДЛЯ -АКТУАТОР НАВЕСН. ОБОРУД) ОСНОВН. КОМПОНЕНТЫ И РЕМКОМПЛЕКТЫ
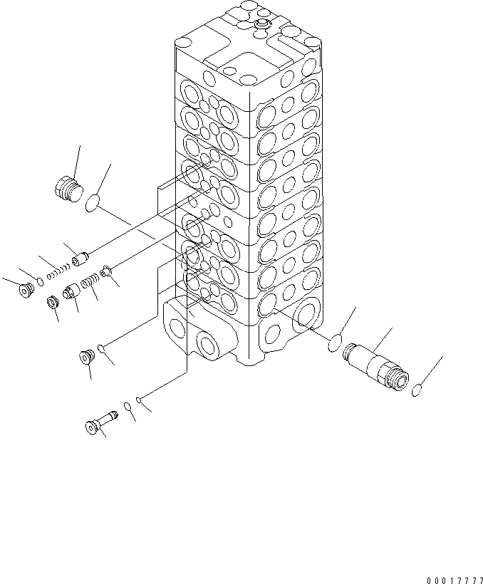
1
2
3
4
5
6
7
8
9
10
11
12
13
14
15
16
17
18
19
20
1
2
3
3
4
5
5
5
6
7
8
9
10
11
12
13
14
14
FIT
1:1
100%

Артикул

Название

Примечание

Количество

|$2

723-58-13901

VALVE ASS'Y

|$3

723-58-13900

VALVE ASS'Y

|$5

BODY GROUP

|$6

BODY GROUP

1

723-56-31610

VALVE

2

723-56-31620

SPRING

3

723-56-31630

PLUG

4

723-56-31640

PLUG

5

07002-11623

O-RING

6

07000-11008

O-RING

7

723-56-31651

VALVE

7

723-56-31650

VALVE

8

709-70-91420

SPRING

9

723-56-31660

RETAINER

10

723-56-31670

SEAT

11

723-56-32870

UNION

12

02896-11018

O-RING

13

709-74-91520

PLUG

14

07000-13024

O-RING

Выбрано товаров: 19