Запчасти Komatsu PC138US-8 ОСНОВН. КОНСТРУКЦИЯ (КОНСОЛЬ) (ПРАВ.)(№-) КАБИНА ОПЕРАТОРА И СИСТЕМА УПРАВЛЕНИЯ

Схема запчастей Komatsu PC138US-8 - ОСНОВН. КОНСТРУКЦИЯ (КОНСОЛЬ) (ПРАВ.)(№-) КАБИНА ОПЕРАТОРА И СИСТЕМА УПРАВЛЕНИЯ
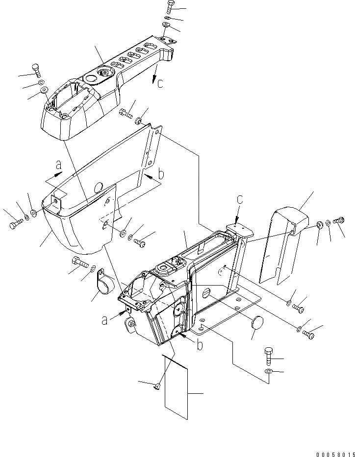
1
2
3
4
5
6
7
7
8
8
9
9
10
11
12
13
14
15
16
16
16
17
18
19
20
21
21
22
22
23
24
25
26
FIT
1:1
100%

Артикул

Название

Примечание

Количество

1

22B-43-23261

FRAME,R.H.

2

01010-D1230

BOLT

3

01643-71232

WASHER

4

22U-43-23251

SHEET

5

22U-43-23290

CLIP

6

20Y-43-41323

COVER,UPPER

7

01010-80616

BOLT

8

01643-30623

WASHER

9

20Y-43-41290

COLLAR

10

22B-43-23241

COVER,LOWER

11

01245-00616

SCREW

12

01643-70623

WASHER

13

01010-80616

BOLT

14

01643-30623

WASHER

15

01435-00616

BOLT

16

20Y-43-41290

COLLAR

17

22B-43-23251

COVER,REAR

18

01245-00616

SCREW

19

01643-70623

WASHER

20

20Y-43-41290

COLLAR

21

01245-00616

SCREW

22

01643-70623

WASHER

23

09415-02512

CAP

24

208-06-19170

CLIP

25

01010-81020

BOLT

26

01643-31032

WASHER

Выбрано товаров: 26