Запчасти Komatsu PC138US-8 ОСНОВН. КОНСТРУКЦИЯ, ЭЛЕКТРИЧ. ЧАСТИ (№-) ОСНОВН. КОНСТРУКЦИЯ, С -ДОПОЛН. АКТУАТОР ТРУБЫ, ДЛЯ СТРАН ЕС

Схема запчастей Komatsu PC138US-8 - ОСНОВН. КОНСТРУКЦИЯ, ЭЛЕКТРИЧ. ЧАСТИ (№-) ОСНОВН. КОНСТРУКЦИЯ, С -ДОПОЛН. АКТУАТОР ТРУБЫ, ДЛЯ СТРАН ЕС
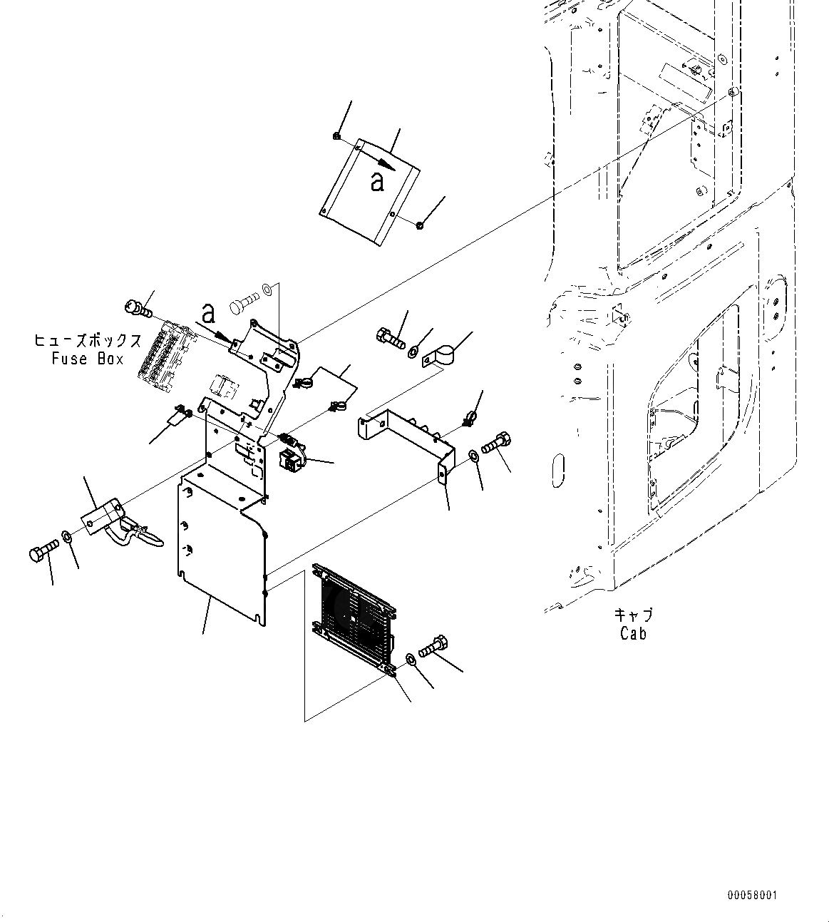
5
6
12
1
9
7
4
3
2
11
19
14
15
18
10
8
16
17
10
17
13
FIT
1:1
100%

Артикул

Название

Примечание

Количество

1

22B-06-21351

Bracket

2

7835-46-2002

Controller

3

01010-80820

Bolt

4

01643-30823

Washer

5

7861-94-3000

Resistor

6

01010-80816

Bolt

7

01643-30823

Washer

8

22B-06-21430

Wiring Harness

9

208-43-71420

Cap

10

08059-00515

Clip

11

04434-53212

Clip

12

01023-10620

Screw

13

22B-06-28391

Bracket

14

01010-80612

Bolt

15

01643-30623

Washer

16

22B-06-21371

Sheet

17

22U-43-23290

Clip

18

01010-81020

Bolt

19

01643-31032

Washer

Выбрано товаров: 19