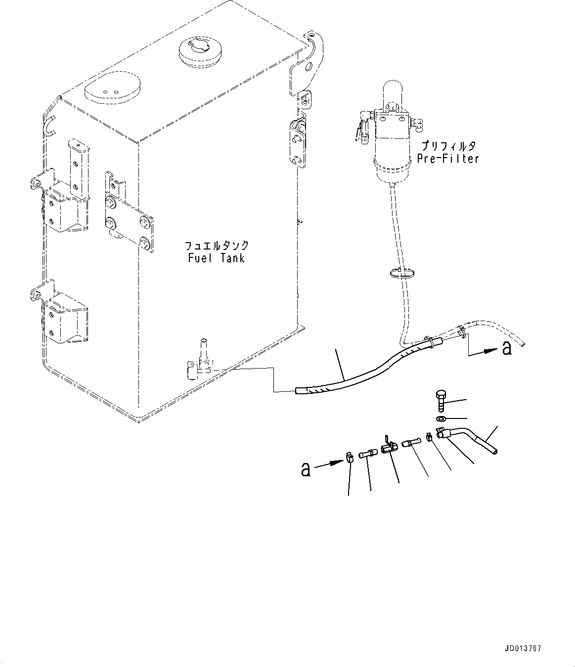
Запчасти Komatsu PC138US-8 ТОПЛИВН. ПОДАЮЩ. ТРУБЫ, ДРЕНАЖН. ТРУБЫ (№-) ТОПЛИВН. ПОДАЮЩ. ТРУБЫ, С EXTRA BAD ТОПЛИВН. И ПЛОХ. ТОПЛИВО СПЕЦ-ЯIFICATION, ВОДН.+DUST, ДОПОЛН. ФИЛЬТР.

Схема запчастей Komatsu PC138US-8 - ТОПЛИВН. ПОДАЮЩ. ТРУБЫ, ДРЕНАЖН. ТРУБЫ (№-) ТОПЛИВН. ПОДАЮЩ. ТРУБЫ, С EXTRA BAD ТОПЛИВН. И ПЛОХ. ТОПЛИВО СПЕЦ-ЯIFICATION, ВОДН.+DUST, ДОПОЛН. ФИЛЬТР.
1
8
6
7
2
4
3
9
4
5
FIT
1:1
100%

Артикул

Название

Примечание

Количество

1

22B-04-21241

Hose

2

11Y-09-11140

Clip

3

07700-50240

Valve

4

154-04-11540

Nipple

5

04434-51312

Clip

6

01010-81225

Bolt

7

01643-31232

Washer

8

07270-01030

Tube

9

07285-00115

Clip

Выбрано товаров: 9