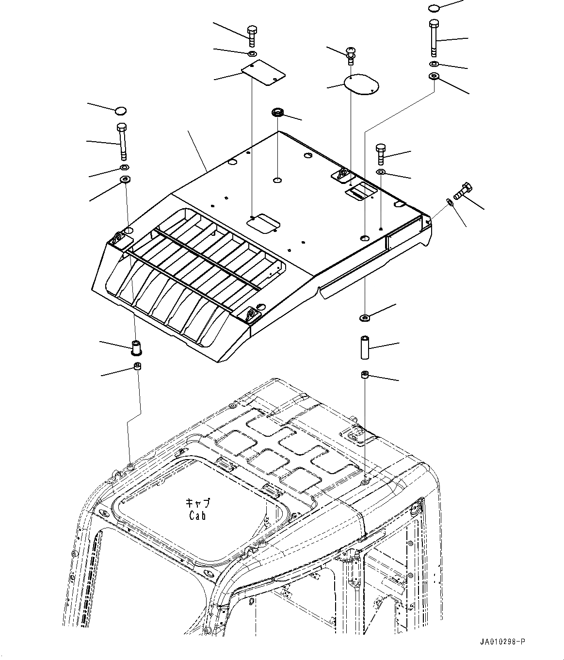
Запчасти Komatsu PC138USLC-10 ВЕРХНЯЯ ЗАЩИТА (№-) ВЕРХНЯЯ ЗАЩИТА

Схема запчастей Komatsu PC138USLC-10 - ВЕРХНЯЯ ЗАЩИТА (№-) ВЕРХНЯЯ ЗАЩИТА
1
5
16
17
18
12
13
20
21
14
15
2
10
3
4
10
6
7
8
11
8
9
9
19
FIT
1:1
100%

Артикул

Название

Примечание

Количество

1

22B-954-3111

Guard

2

20Y-954-6421

Boss

3

01011-D1260

Bolt

4

01643-71232

Washer

5

22B-954-3130

Boss

6

01011-D1220

Bolt

7

01643-71232

Washer

8

130-43-64260

Collar

9

20Y-954-6490

Cushion

10

195-Z11-2970

Cap

11

08037-02512

Grommet

12

20Y-954-6250

Plate

13

01023-20612

Screw

14

01010-D1220

Bolt

15

01643-71232

Washer

16

22B-954-1630

Plate

17

01010-D1020

Bolt

18

01643-71032

Washer

19

130-43-64260

Collar

20

01010-D1220

Bolt

21

01643-71232

Washer

Выбрано товаров: 21