Запчасти Komatsu PC138USLC-10 ОСНОВН. КОНСТРУКЦИЯ, ПОЛ, P, T БЛОК (№-) ОСНОВН. КОНСТРУКЦИЯ, С ОТВАЛ, БЕЗ -ДОПОЛН. АКТУАТОР ТРУБЫ, АККУМУЛЯТОР

Схема запчастей Komatsu PC138USLC-10 - ОСНОВН. КОНСТРУКЦИЯ, ПОЛ, P, T БЛОК (№-) ОСНОВН. КОНСТРУКЦИЯ, С ОТВАЛ, БЕЗ -ДОПОЛН. АКТУАТОР ТРУБЫ, АККУМУЛЯТОР
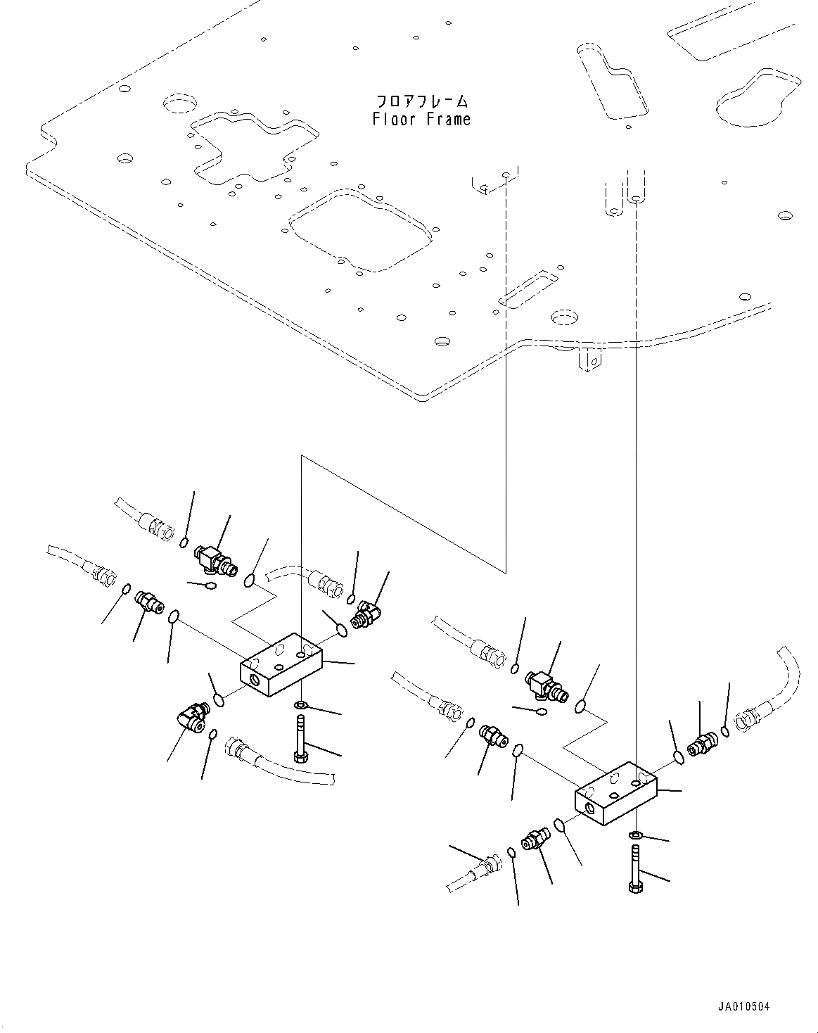
4
6
21
20
22
15
16
13
18
17
19
21
20
22
14
3
12
1
2
8
11
5
7
9
13
10
12
13
23
24
25
25
26
FIT
1:1
100%

Артикул

Название

Примечание

Количество

1

20Y-62-15831

Block

2

01010-81045

Bolt

3

01643-31032

Washer

4

02782-10311

Elbow

5

07002-11423

O-ring

6

02896-11009

O-ring

7

02782-10210

Elbow

8

07002-11423

O-ring

9

02896-11008

O-ring

10

02781-0021D

Union

11

11Y-62-12330

Tee

12

07002-11423

O-ring

13

02896-11008

O-ring

14

20Y-62-15831

Block

15

01010-81045

Bolt

16

01643-31032

Washer

17

02781-0031D

Nipple

18

07002-11423

O-ring

19

02896-11009

O-ring

20

02781-0021D

Union

21

07002-11423

O-ring

22

02896-11008

O-ring

23

11Y-62-12330

Tee

24

07002-11423

O-ring

25

02896-11008

O-ring

26

22B-62-25320

Hose

Выбрано товаров: 26