Качественные детали и логистика
Оригинальные и аналоговые запчасти с доставкой по России, Казахстану и Беларуси
©2022 PartSell ООО "Система" ИНН 2463123282 ОГРН 1212400004838
Центральный офис: г. Красноярск, Академика Киренского, д.87, пом.4
Телефон: 8 (800) 777-65-74 Email: zakaz@partsell.ru
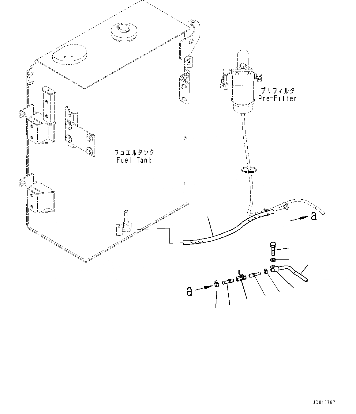
ТОПЛИВН. ПОДАЮЩ. ТРУБЫ, ДРЕНАЖН. ТРУБЫ (№-)
№
Артикул
Название
Примечание
Количество
1
22B-04-21241
Hose
2
11Y-09-11140
Clip
3
07700-50240
Valve
4
154-04-11540
Nipple
5
04434-51312
6
01010-81225
Bolt
7
01643-31232
Washer
8
07270-01030
Tube
9
07285-00115
Выбрано товаров: 0