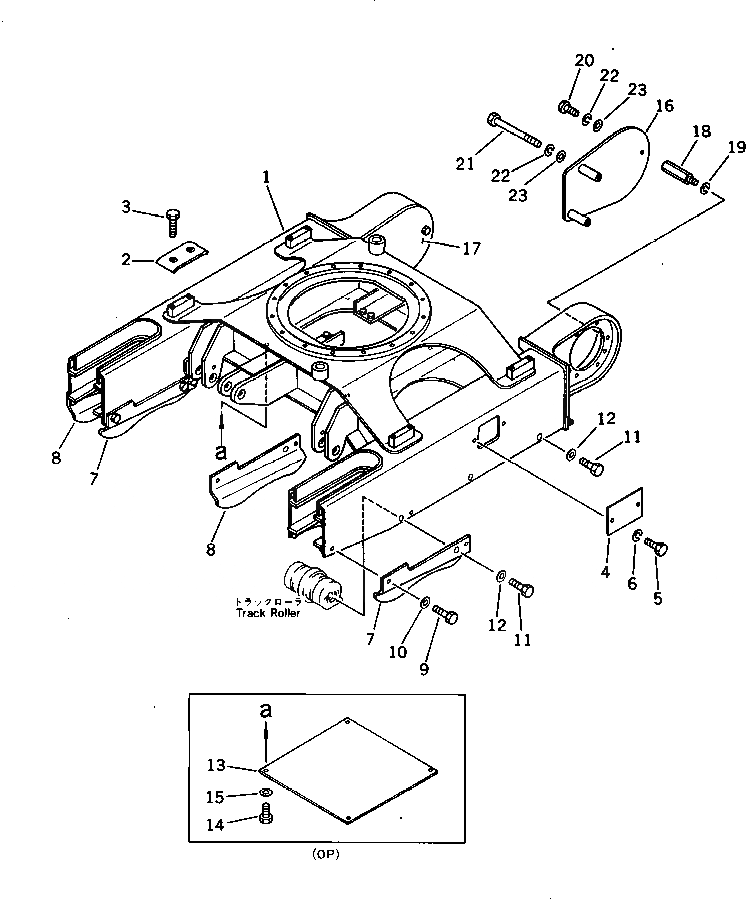
Запчасти Komatsu PC15-1 ГУСЕНИЧНАЯ РАМА ХОДОВАЯ

Схема запчастей Komatsu PC15-1 - ГУСЕНИЧНАЯ РАМА ХОДОВАЯ
FIT
1:1
100%

Артикул

Название

Примечание

Количество

1

20P-30-11110

FRAME,TRACK

2

20R-30-11190

PLATE

3

01010-51225

BOLT

4

20N-30-41240

COVER

5

01010-51020

BOLT

6

01602-21030

WASHER,SPRING

7

20N-30-41335

GUARD,OUTER¤ L.H. AND INNER¤ R.H.

8

20N-30-41325

GUARD,INNER¤ L.H. AND OUTER¤ R.H.

9

01010-51430

BOLT

10

01643-31445

WASHER

11

01010-51430

BOLT

12

01643-31445

WASHER

13

20N-30-41291

COVER

14

01010-51025

BOLT

15

01643-31032

WASHER

16

20N-30-41215

COVER,L.H.

17

20N-30-41225

COVER,R.H.

18

20N-30-41235

SPACER

19

01602-21236

WASHER,SPRING

20

01010-51020

BOLT

21

01010-51085

BOLT

22

01602-21030

WASHER,SPRING

23

01643-31032

WASHER

Выбрано товаров: 23