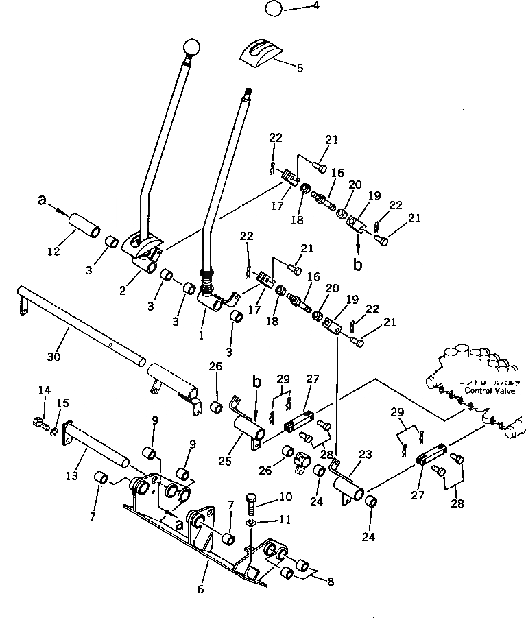
Запчасти Komatsu PC15-1 РЫЧАГ УПРАВЛ-Я ХОДОМ ПОВОРОТН. И СИСТЕМА УПРАВЛЕНИЯ

Схема запчастей Komatsu PC15-1 - РЫЧАГ УПРАВЛ-Я ХОДОМ ПОВОРОТН. И СИСТЕМА УПРАВЛЕНИЯ
FIT
1:1
100%

Артикул

Название

Примечание

Количество

1

20N-43-41315

LEVER

2

20N-43-41285

LEVER

3

09350-02220

BUSHING

4

20R-43-11280

KNOB

5

20S-43-11230

COVER

6

20N-43-43355

BRACKET

7

09350-02530

BUSHING

8

09350-02525

BUSHING

9

09350-02530

BUSHING

10

01010-51025

BOLT

11

01602-21030

WASHER,SPRING

12

20N-43-41585

COLLAR

13

20N-43-31320

SHAFT

14

01010-51020

BOLT

15

01602-21030

WASHER,SPRING

16

04248-10809

ROD

17

04211-20844

YOKE

18

01580-10806

NUT

19

04221-20844

YOKE,L.H. THREAD

20

01508-20805

NUT,L.H. THREAD

21

04205-10822

PIN

22

04052-00833

PIN,SNAP

23

20N-43-41345

LEVER

24

09350-02520

BUSHING

25

20N-43-43435

LEVER

26

09350-02520

BUSHING

27

20N-43-31221

YOKE

28

04205-10516

PIN

29

04052-00530

PIN,SNAP

30

20N-43-43225

SHAFT

Выбрано товаров: 30