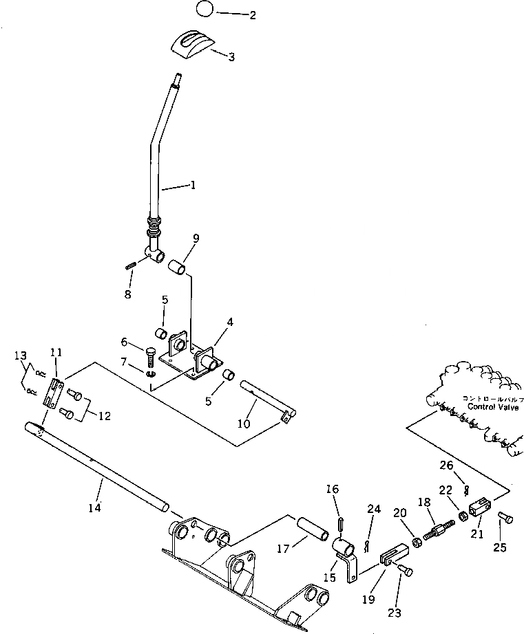
Запчасти Komatsu PC15-1 УПРАВЛЕНИЕ ПОВОРОТОМ СТРЕЛЫ РЫЧАГ ПОВОРОТН. И СИСТЕМА УПРАВЛЕНИЯ

Схема запчастей Komatsu PC15-1 - УПРАВЛЕНИЕ ПОВОРОТОМ СТРЕЛЫ РЫЧАГ ПОВОРОТН. И СИСТЕМА УПРАВЛЕНИЯ
FIT
1:1
100%

Артикул

Название

Примечание

Количество

1

20N-43-41615

LEVER

2

20R-43-11290

KNOB

3

20S-43-11230

COVER

4

20N-43-41625

BRACKET

5

09350-02020

BUSHING

6

01010-50820

BOLT

7

01602-20825

WASHER,SPRING

8

04025-00640

PIN,SPRING

9

20N-43-41685

SPACER

10

20N-43-41695

SHAFT

11

20N-43-41130

YOKE

12

04205-10822

PIN

13

04052-00833

PIN,SNAP

14

20N-43-41645

SHAFT

15

20N-43-41675

LEVER

16

04025-00640

PIN,SPRING

17

20N-43-41595

COLLAR

18

20N-43-41270

ROD

19

04211-20844

YOKE

20

01580-10806

NUT

21

20N-43-41260

YOKE,L.H. THREAD

22

01508-20805

NUT,L.H. THREAD

23

04205-10822

PIN

24

04052-00833

PIN,SNAP

25

04205-10520

PIN

26

04052-00530

PIN,SNAP

Выбрано товаров: 26