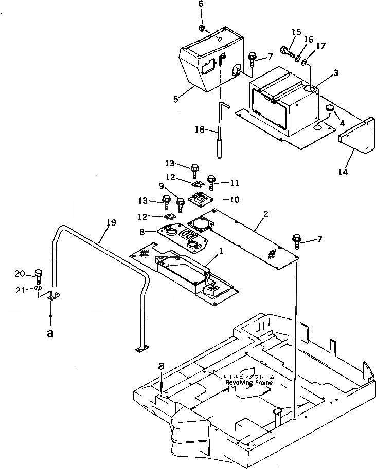
Запчасти Komatsu PC15-1 ПОЛ КАБИНЫ ОСНОВНАЯ РАМА И КАБИНА

Схема запчастей Komatsu PC15-1 - ПОЛ КАБИНЫ ОСНОВНАЯ РАМА И КАБИНА
FIT
1:1
100%

Артикул

Название

Примечание

Количество

1

20N-54-41735

PLATE,FLOOR

2

20N-54-41435

PLATE,FLOOR

3

20N-54-41415

BOX

4

09415-05016

CAP

5

20N-54-41515

BOX,PANEL

6

09415-02512

CAP

7

01435-00816

BOLT

8

20N-54-41471

COVER

9

01435-00816

BOLT

10

20N-54-41490

COVER

11

01435-00816

BOLT

12

20S-43-11421

HINGE

13

01435-00816

BOLT

14

20N-54-41455

COVER

15

01010-50820

BOLT

16

01602-20825

WASHER,SPRING

17

01643-30823

WASHER

18

20N-54-41525

PIN,SWING LOCK

19

20N-54-41485

STAY

20

01010-51025

BOLT

21

01602-21030

WASHER,SPRING

Выбрано товаров: 21