Запчасти Komatsu PC15-1 РАДИАТОР И ТРУБЫ КОМПОНЕНТЫ ДВИГАТЕЛЯ И ЭЛЕКТРИКА

Схема запчастей Komatsu PC15-1 - РАДИАТОР И ТРУБЫ КОМПОНЕНТЫ ДВИГАТЕЛЯ И ЭЛЕКТРИКА
FIT
1:1
100%

Артикул

Название

Примечание

Количество

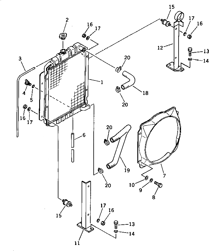
|1

20N-03-41100

RADIATOR ASS'Y

1

20N-03-21110

RADIATOR SUB ASS'Y

2

20R-03-11220

CAP

3

07270-00870

TUBE

4

20N-03-11181

PLUG,DRAIN

5

07000-01007

O-RING

6

07270-00810

TUBE

7

20N-03-41120

SHROUD

8

01010-50820

BOLT

9

01602-20825

WASHER,SPRING

10

01641-20812

WASHER

11

20P-03-12130

BRACKET,L.H.

12

20P-03-12140

BRACKET,R.H.

13

01010-51025

BOLT

14

01602-21030

WASHER,SPRING

15

20R-03-11190

CUSHION

16

01580-10806

NUT

17

01602-20825

WASHER,SPRING

18

20P-03-12110

HOSE

19

20P-03-12120

HOSE

20

07280-03826

CLAMP

Выбрано товаров: 21