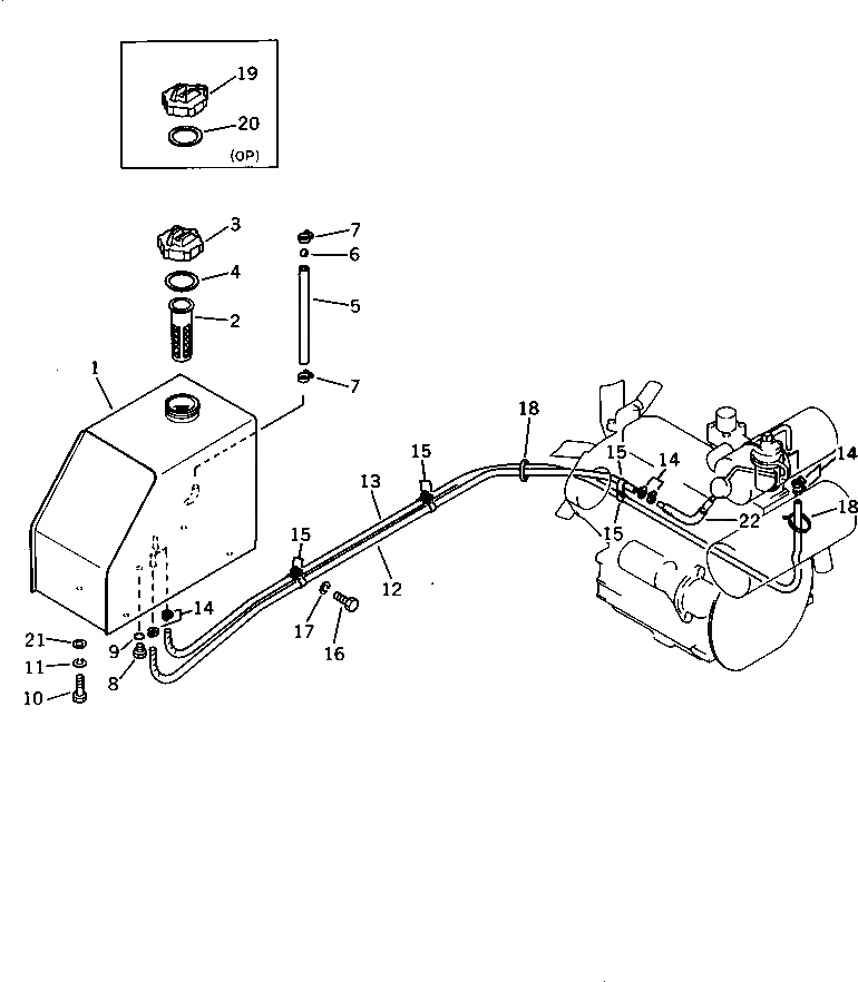
Запчасти Komatsu PC15-1 ТОПЛ. БАК И ТОПЛИВОПРОВОД КОМПОНЕНТЫ ДВИГАТЕЛЯ И ЭЛЕКТРИКА

Схема запчастей Komatsu PC15-1 - ТОПЛ. БАК И ТОПЛИВОПРОВОД КОМПОНЕНТЫ ДВИГАТЕЛЯ И ЭЛЕКТРИКА
FIT
1:1
100%

Артикул

Название

Примечание

Количество

|1

20N-04-40115

FUEL TANK ASS'Y

1

TANK,FUEL

2

07056-16415

STRAINER

3

07050-20920

CAP ASS'Y

4

07050-20922

GASKET

5

07270-01025

TUBE

6

20R-04-21210

BALL,FLOAT

7

07281-00167

CLAMP

8

07060-11230

BOLT,PLUG

9

07002-01223

O-RING

10

01010-51230

BOLT

11

01602-21236

WASHER,SPRING

12

20N-04-41170

HOSE

13

20N-04-41161

HOSE

14

07281-00137

CLAMP

15

08036-01414

CLIP

16

01010-51020

BOLT

17

01602-21030

WASHER,SPRING

18

08034-00519

BAND

19

07091-10920

CAP,(FOR VANDALISM)

20

07050-20922

GASKET

21

01643-31232

WASHER

22

07286-01410

HOSE

Выбрано товаров: 23